Запчасти Komatsu D40PL-5 ГИДРАВЛИКА РУЛ. УПРАВЛЕНИЯ СИСТЕМА УПРАВЛЕНИЯ

Схема запчастей Komatsu D40PL-5 - ГИДРАВЛИКА РУЛ. УПРАВЛЕНИЯ СИСТЕМА УПРАВЛЕНИЯ
FIT
1:1
100%

Артикул

Название

Примечание

Количество

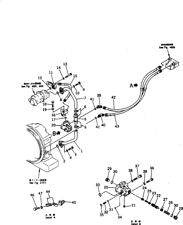
1

120-49-33252

TUBE

SN: 10001-UP

1шт.

2

07000-03035

O-RING

SN: 10001-UP

1шт.

3

01010-51065

BOLT

SN: 10001-UP

2шт.

4

01602-21030

WASHER,SPRING

SN: 10001-UP

2шт.

5

07260-23216

HOSE

SN: 10001-UP

1шт.

6

07280-04726

CLAMP

SN: 10001-UP

4шт.

7

120-49-33242

TUBE

SN: 10001-UP

1шт.

8

07000-03042

O-RING

SN: 10001-UP

1шт.

9

01010-51030

BOLT

SN: 10001-UP

4шт.

10

01602-21030

WASHER,SPRING

SN: 10001-UP

4шт.

11

120-49-33261

TUBE

SN: 10001-UP

1шт.

12

07000-03025

O-RING

SN: 10001-UP

1шт.

13

01010-50850

BOLT

SN: 10001-UP

4шт.

14

01602-20825

WASHER,SPRING

SN: 10001-UP

4шт.

15

07102-20403

HOSE

SN: 10001-UP

1шт.

16

120-49-33272

TUBE

SN: 10001-UP

1шт.

17

07000-03025

O-RING

SN: 10001-UP

1шт.

18

01010-51055

BOLT

SN: 10001-UP

2шт.

19

01602-21030

WASHER,SPRING

SN: 10001-UP

2шт.

|20

120-49-00010

RELIEF VALVE ASS'Y

SN: 10001-UP

1шт.

|20

120-49-00020

BODY ASS'Y

SN: 10001-UP

1шт.

20

0

BODY

SN: 10001-UP

1шт.

21

07043-20211

PLUG

SN: 10001-UP

1шт.

22

113-15-25210

SPOOL

SN: 10001-UP

1шт.

23

103-15-15460

VALVE

SN: 10001-UP

1шт.

24

103-15-15450

VALVE

SN: 10001-UP

1шт.

25

125-15-15290

SPRING

SN: 10001-UP

1шт.

26

103-15-15470

SPRING

SN: 10001-UP

1шт.

27

112-10-46210

SHIM¤ 0.5MM

SN: 10001-UP

4шт.

28

120-49-34331

PLUG

SN: 10001-UP

1шт.

29

102-10-46360

PLUG

SN: 10001-UP

1шт.

30

07002-02434

O-RING

SN: 10001-UP

2шт.

31

04260-01270

BALL

SN: 10001-UP

1шт.

32

103-49-14270

SPRING

SN: 10001-UP

1шт.

33

07000-03028

O-RING

SN: 10001-UP

1шт.

34

07000-01008

O-RING

SN: 10001-UP

2шт.

35

07000-02018

O-RING

SN: 10001-UP

1шт.

36

01010-51085

BOLT

SN: 10001-UP

2шт.

37

01011-51000

BOLT

SN: 10001-UP

1шт.

38

01602-21030

WASHER,SPRING

SN: 10001-UP

3шт.

39

233-63-22180

ELBOW

SN: 10001-UP

1шт.

40

07236-10422

ELBOW

SN: 10001-UP

1шт.

41

07002-02034

O-RING

SN: 10001-UP

2шт.

42

07102-20411

HOSE

SN: 10001-UP

1шт.

43

07102-20413

HOSE

SN: 10001-UP

1шт.

44

08036-02514

CLIP

SN: 10001-UP

2шт.

45

120-49-33281

PLATE

SN: 10001-UP

1шт.

46

01010-51025

BOLT

SN: 10001-UP

1шт.

47

01602-21030

WASHER,SPRING

SN: 10001-UP

1шт.

Выбрано товаров: 49