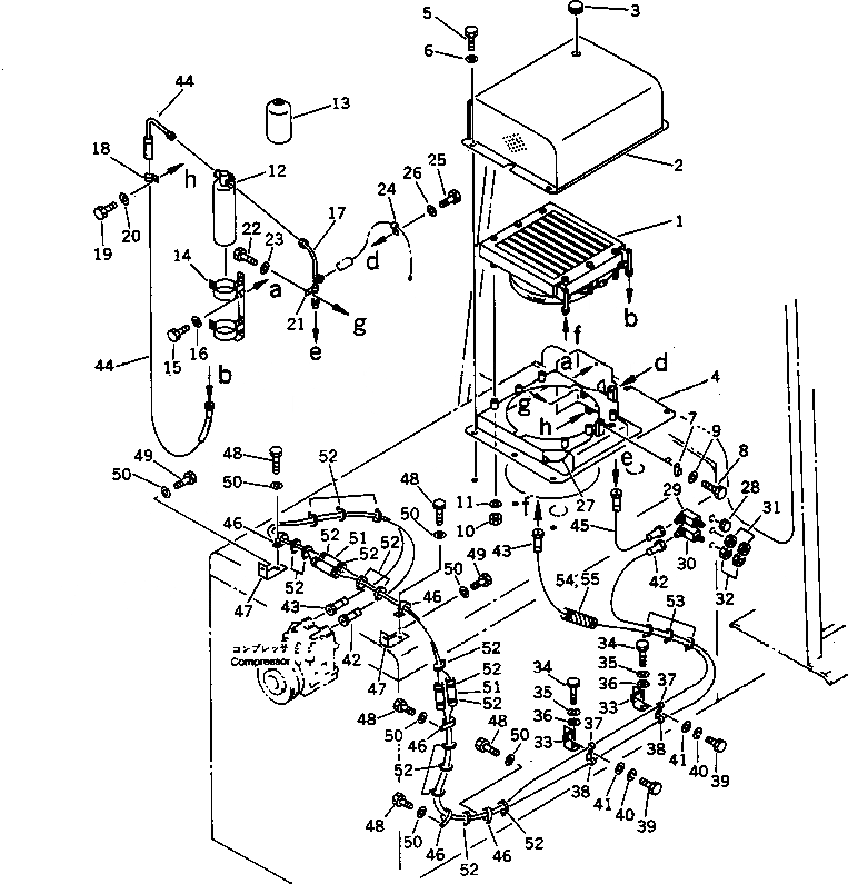
Запчасти Komatsu D40PL-5 CAR ОХЛАДИТЕЛЬ И ТРУБЫ (/) (ДЛЯ СТАЛЬНАЯ КАБИНА)(№-7) ЧАСТИ КОРПУСА

Схема запчастей Komatsu D40PL-5 - CAR ОХЛАДИТЕЛЬ И ТРУБЫ (/) (ДЛЯ СТАЛЬНАЯ КАБИНА)(№-7) ЧАСТИ КОРПУСА
FIT
1:1
100%

Артикул

Название

Примечание

Количество

1

144-Y11-1850

CONDENSER ASS'Y

SN: 10510-11172

1шт.

2

120-54-41350

COVER

SN: 10510-@

1шт.

3

09415-02512

CAP

SN: 10510-@

1шт.

4

120-54-41360

BRACKET

SN: 10510-11172

1шт.

5

01010-51225

BOLT

SN: 10510-@

6шт.

6

01643-31232

WASHER

SN: 10510-@

6шт.

7

08035-01510

CLIP

SN: 10510-@

1шт.

8

01010-51020

BOLT

SN: 10510-@

1шт.

9

01643-31023

WASHER

SN: 10510-@

1шт.

10

01580-10806

NUT

SN: 10510-@

6шт.

11

01643-30823

WASHER

SN: 10510-@

6шт.

12

144-Y11-1860

TANK,RECEIVER

SN: 10510-11172

1шт.

13

145-Z79-5970

DRUM

SN: 10510-11172

3шт.

14

144-Y11-1870

HOLDER

SN: 10510-11172

1шт.

15

01010-50820

BOLT

SN: 10510-11172

3шт.

16

01643-30823

WASHER

SN: 10510-11172

3шт.

17

144-Y11-1880

TUBE ASS'Y

SN: 10510-11172

1шт.

18

6130-71-6411

CLIP,HOSE

SN: 10510-11172

1шт.

19

01010-50816

BOLT

SN: 10510-@

1шт.

20

01643-30823

WASHER

SN: 10510-@

1шт.

21

08036-00814

CLIP

SN: 10510-11172

1шт.

22

01010-50816

BOLT

SN: 10510-@

1шт.

23

01643-30823

WASHER

SN: 10510-@

1шт.

24

08052-11711

CLIP

SN: 10510-@

1шт.

25

01010-51020

BOLT

SN: 10510-@

1шт.

26

01643-31032

WASHER

SN: 10510-@

1шт.

27

144-Y11-1890

WIRE

SN: 10510-11172

1шт.

28

08037-01610

GROMMET

SN: 10510-@

1шт.

29

144-Y11-1230

ELBOW

SN: 10510-11172

1шт.

30

144-Y11-1220

ELBOW

SN: 10510-11172

1шт.

31

02216-10908

NUT

SN: 10510-11172

2шт.

32

145-Z79-5660

NUT

SN: 10510-11172

2шт.

33

120-Y79-6630

BRACKET

SN: 10510-11172

2шт.

34

01010-51025

BOLT

SN: 10510-11172

2шт.

35

01602-21030

WASHER,SPRING

SN: 10510-11172

2шт.

36

01643-31032

WASHER

SN: 10510-11172

2шт.

37

08035-02510

CLIP

SN: 10510-11172

2шт.

38

08036-02514

CLIP

SN: 10510-11172

2шт.

39

01010-51025

BOLT

SN: 10510-11172

2шт.

40

01602-21030

WASHER,SPRING

SN: 10510-11172

2шт.

41

01643-31032

WASHER

SN: 10510-11172

2шт.

42

09488-70739

HOSE

SN: 10510-11172

1шт.

43

09488-70640

HOSE

SN: 10510-11172

1шт.

44

120-X11-1350

HOSE

SN: 10510-11172

1шт.

45

09488-50406

HOSE

SN: 10510-11172

1шт.

46

176-911-4170

CLIP

SN: 10510-11172

5шт.

47

120-Y79-7230

PLATE

SN: 10510-11172

2шт.

48

01010-51020

BOLT

SN: 10510-11172

5шт.

49

01010-51035

BOLT

SN: 10510-11172

2шт.

50

01602-21030

WASHER,SPRING

SN: 10510-11172

7шт.

51

203-04-31230

COVER

SN: 10510-11172

10шт.

52

08034-00519

BAND

SN: 10510-11172

20шт.

53

08034-00834

BAND

SN: 10510-11172

3шт.

54

09489-01050

INSULATOR

SN: 10510-@

1шт.

55

08024-01910

TAPE

SN: 10510-@

1шт.

Выбрано товаров: 55