Запчасти Komatsu D40PLF-1 КАБИНА ROPS (/) ОПЦИОННЫЕ КОМПОНЕНТЫ

Схема запчастей Komatsu D40PLF-1 - КАБИНА ROPS (/) ОПЦИОННЫЕ КОМПОНЕНТЫ
FIT
1:1
100%

Артикул

Название

Примечание

Количество

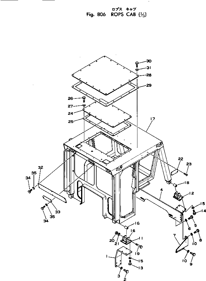
1

124-978-2320

PLATE

SN: 2201-UP

2шт.

2

01010-32470

BOLT

SN: 2201-UP

8шт.

3

01643-32460

WASHER

SN: 2201-UP

8шт.

4

124-978-2330

BRACKET

SN: 2201-UP

1шт.

5

01010-31650

BOLT

SN: 2201-UP

6шт.

6

01643-31645

WASHER

SN: 2201-UP

6шт.

7

124-978-2340

BRACKET,L.H.

SN: 2201-UP

1шт.

7

124-978-2350

BRACKET,R.H.

SN: 2201-UP

1шт.

8

01010-31645

BOLT

SN: 2201-UP

6шт.

9

01010-31650

BOLT

SN: 2201-UP

6шт.

10

01643-31645

WASHER

SN: 2201-UP

12шт.

11

124-978-2360

PLATE,FRONT

SN: 2201-UP

2шт.

12

124-978-2370

PLATE,REAR

SN: 2201-UP

2шт.

13

01010-31675

BOLT

SN: 2201-UP

8шт.

14

01010-31645

BOLT

SN: 2201-UP

8шт.

15

01643-31645

WASHER

SN: 2201-UP

16шт.

16

145-Z78-1130

BRACKET

SN: 2201-UP

4шт.

17

124-978-2111

PLATE

SN: 2201-UP

1шт.

18

195-978-1311

ISOLATOR,VIBRATION

SN: 2201-UP

4шт.

19

175-978-3220

BOLT

SN: 2201-UP

4шт.

20

175-978-3210

NUT

SN: 2201-UP

4шт.

21

01643-32780

WASHER

SN: 2201-UP

4шт.

22

09620-00200

PLATE, NAME,(LIMITED SUPPLY)

SN: 2201-UP

1шт.

22

09620-20200

PLATE, NAME,GERMAN (LIMITED SUPPLY)

SN: 2201-UP

1шт.

22

09620-30200

PLATE, NAME,ENGLISH (LIMITED SUPPLY)

SN: 2201-UP

1шт.

22

09620-50200

PLATE, NAME,FRENCH (LIMITED SUPPLY)

SN: 2201-UP

1шт.

23

04418-13060

SCREW

SN: 2201-UP

4шт.

24

145-Z79-1540

COVER

SN: 2201-UP

1шт.

25

145-Z79-1550

GASKET

SN: 2201-UP

1шт.

26

01010-31025

BOLT

SN: 2201-UP

16шт.

27

01602-01030

WASHER,SPRING

SN: 2201-UP

16шт.

28

135-Z79-1631

COVER

SN: 2201-UP

1шт.

29

135-Z79-1641

GASKET

SN: 2201-UP

1шт.

30

01010-31230

BOLT

SN: 2201-UP

18шт.

31

01602-01236

WASHER,SPRING

SN: 2201-UP

18шт.

32

145-Z79-1191

COVER

SN: 2201-UP

1шт.

33

145-Z79-1560

COVER

SN: 2201-UP

1шт.

34

01010-30820

BOLT

SN: 2201-UP

8шт.

35

01602-00825

WASHER,SPRING

SN: 2201-UP

8шт.

Выбрано товаров: 0