Запчасти Komatsu D40PLF-1A ГУСЕНИЧНАЯ РАМА ГУСЕНИЦЫ

Схема запчастей Komatsu D40PLF-1A - ГУСЕНИЧНАЯ РАМА ГУСЕНИЦЫ
FIT
1:1
100%

Артикул

Название

Примечание

Количество

|1

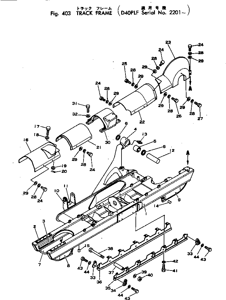
12F-30-12301

TRACK FRAME ASS'Y,L.H.

SN: 2201-UP

1шт.

|1

12F-30-12400

TRACK FRAME ASS'Y,R.H.

SN: 2201-UP

1шт.

1

0

FRAME,TRACK¤ L.H.

SN: 2201-UP

1шт.

|1

0

FRAME,TRACK¤ R.H.

SN: 2201-UP

1шт.

2

125-30-11180

PLATE (WELDED)

SN: 2201-UP

1шт.

3

130-30-11134

PLATE (WELDED)

SN: 2201-UP

2шт.

|4

125-30-00010

HEAD ASS'Y

SN: 2201-UP

1шт.

4

0

HEAD (WELDED)

SN: 2201-UP

1шт.

5

125-30-21230

BUSHING

SN: 2201-UP

1шт.

6

130-09-12790

SEAL,DUST

SN: 2201-UP

2шт.

7

12F-30-12190

GUARD,L.H. INNER AND R.H. OUTER (WELDED)

SN: 2201-UP

1шт.

8

12F-30-12210

GUARD,L.H. OUTER AND R.H. INNER (WELDED)

SN: 2201-UP

1шт.

9

12F-30-12220

GUARD,REAR¤ L.H. (WELDED)

SN: 2201-UP

1шт.

|9

12F-30-12180

GUARD,REAR¤ R.H. (WELDED)

SN: 2201-UP

1шт.

10

125-30-21220

BRACKET (WELDED)

SN: 2201-UP

1шт.

11

124-30-21260

SEAT (WELDED)

SN: 2201-UP

1шт.

12

125-30-21190

PIN,HEAD

SN: 2201-UP

2шт.

13

07020-00000

FITTING,GREASE

SN: 2201-UP

2шт.

14

07049-01418

PLUG

SN: 2201-UP

12шт.

15

07049-01620

PLUG

SN: 2201-UP

22шт.

|16

12F-30-00010

COVER ASS'Y,L.H.

SN: 2201-UP

1шт.

|16

12F-30-00020

COVER ASS'Y,R.H.

SN: 2201-UP

1шт.

16

0

COVER,L.H.

SN: 2201-UP

1шт.

|16

0

COVER,R.H.

SN: 2201-UP

1шт.

17

141-30-17160

BOLT

SN: 2201-UP

1шт.

18

01640-21016

WASHER

SN: 2201-UP

1шт.

19

01641-21016

WASHER

SN: 2201-UP

1шт.

20

04050-03015

PIN,COTTER

SN: 2201-UP

1шт.

21

12F-30-12250

COVER

SN: 2201-UP

2шт.

22

12F-30-12311

COVER,L.H.

SN: 2201-UP

1шт.

|22

12F-30-12320

COVER,R.H.

SN: 2201-UP

1шт.

23

130-813-5751

COVER,SPROCKET¤ L.H.

SN: 2201-UP

1шт.

|23

130-813-5761

COVER,SPROCKET¤ R.H.

SN: 2201-UP

1шт.

24

01010-31430

BOLT

SN: 2201-UP

30шт.

25

01010-31440

BOLT

SN: 2201-UP

2шт.

26

01010-31445

BOLT

SN: 2201-UP

2шт.

27

01010-31450

BOLT

SN: 2201-UP

2шт.

28

01602-10442

WASHER,SPRING

SN: 2201-UP

36шт.

29

01643-31445

WASHER

SN: 2201-UP

36шт.

30

12F-929-8160

SUPPORT,L.H.

SN: 2201-UP

1шт.

|30

12F-30-12330

SUPPORT,R.H.

SN: 2201-UP

1шт.

31

01010-31855

BOLT

SN: 2201-UP

8шт.

32

01643-31845

WASHER

SN: 2201-UP

8шт.

33

130-30-12180

PLATE,L.H.

SN: 2201-UP

2шт.

|33

130-30-12170

PLATE,R.H.

SN: 2201-UP

2шт.

34

130-30-12170

PLATE,L.H.

SN: 2201-UP

1шт.

|34

130-30-12180

PLATE,R.H.

SN: 2201-UP

1шт.

35

12F-30-16110

GUARD,OUTER¤ L.H.

SN: 2201-UP

1шт.

|35

12F-30-16120

GUARD,OUTER¤ R.H.

SN: 2201-UP

1шт.

36

12F-30-16130

GUARD,INNER¤ L.H.

SN: 2201-UP

1шт.

|36

12F-30-16140

GUARD,INNER¤ R.H.

SN: 2201-UP

1шт.

37

141-30-12151

COLLAR

SN: 2201-UP

10шт.

38

09205-18295

BOLT

SN: 2201-UP

10шт.

39

01643-31845

WASHER

SN: 2201-UP

10шт.

40

01580-01815

NUT

SN: 2201-UP

10шт.

41

01010-31640

BOLT

SN: 2201-UP

22шт.

42

01643-31645

WASHER

SN: 2201-UP

22шт.

43

01010-31430

BOLT

SN: 2201-UP

6шт.

44

01602-01442

WASHER,SPRING

SN: 2201-UP

6шт.

Выбрано товаров: 59