Запчасти Komatsu D40PLF-1A ПАНЕЛЬ ПРИБОРОВ КОМПОНЕНТЫ ДВИГАТЕЛЯ И ЭЛЕКТРИКА

Схема запчастей Komatsu D40PLF-1A - ПАНЕЛЬ ПРИБОРОВ КОМПОНЕНТЫ ДВИГАТЕЛЯ И ЭЛЕКТРИКА
FIT
1:1
100%

Артикул

Название

Примечание

Количество

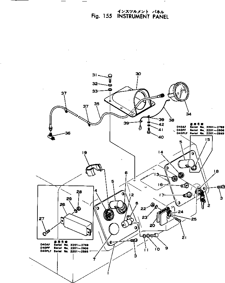
1

124-06-23120

PANEL,L.H.

SN: 2201-UP

1шт.

2

124-06-23111

PANEL,R.H.

SN: 2870-UP

1шт.

|2

124-06-23110

PANEL,R.H.

SN: 2201-2869

1шт.

3

01225-40614

SCREW

SN: 2201-UP

8шт.

4

113-06-22110

METER,SERVICE

SN: 2201-UP

1шт.

5

08144-12400

LAMP,PANEL

SN: 2201-UP

2шт.

6

08655-02000

GAUGE,WATER TEMPERATURE

SN: 2201-UP

1шт.

7

09414-00053

CAP

SN: 2201-UP

1шт.

8

08671-00160

HOSE

SN: 2201-UP

1шт.

9

01010-30620

BOLT

SN: 2201-UP

2шт.

10

01601-00615

WASHER,SPRING

SN: 2201-UP

2шт.

11

01640-20610

WASHER

SN: 2201-UP

2шт.

12

08670-50001

INDICATOR,DUST

SN: 2201-UP

1шт.

13

125-06-22220

LAMP,CHARGE

SN: 2201-UP

1шт.

14

125-06-22210

LAMP,OIL PRESSURE

SN: 2201-UP

1шт.

15

6130-82-4221

SIGNAL,HEATER

SN: 2201-2869

1шт.

16

08061-00070

SWITCH,HEATER

SN: 2201-UP

1шт.

17

124-06-23140

SWITCH,LAMP

SN: 2201-UP

1шт.

18

08086-00000

SWITCH,STARTING

SN: 2201-UP

1шт.

19

08669-00000

CLIP

SN: 2201-UP

1шт.

20

125-06-21110

BOX,FUSE

SN: 2201-UP

1шт.

21

01220-40520

SCREW

SN: 2201-UP

2шт.

22

01580-00504

NUT

SN: 2201-UP

2шт.

23

01601-00513

WASHER,SPRING

SN: 2201-UP

2шт.

24

08040-01000

FUSE¤ 10A

SN: 2201-UP

2шт.

25

08040-02000

FUSE¤ 20A

SN: 2201-UP

2шт.

26

6130-82-4150

RESISTOR

SN: 2201-2869

1шт.

27

01220-40612

SCREW

SN: 2201-2869

2шт.

28

01580-00605

NUT

SN: 2201-2869

2шт.

29

01602-00619

WASHER,SPRING

SN: 2201-2869

2шт.

30

12F-06-14120

COVER

SN: 2201-UP

1шт.

31

01010-30816

BOLT

SN: 2201-UP

6шт.

32

01602-00825

WASHER,SPRING

SN: 2201-UP

6шт.

33

01641-00812

WASHER

SN: 2201-UP

6шт.

34

12F-06-14110

TACHOMETER

SN: 2201-UP

1шт.

35

144-851-2450

CABLE

SN: 2201-UP

1шт.

36

600-014-0920

ADAPTER

SN: .-UP

1шт.

|36

6130-82-5110

ADAPTER

SN: 2201-.

1шт.

37

08038-10810

CLIP

SN: 2201-UP

1шт.

38

12F-06-14140

WIRE

SN: 2201-UP

1шт.

39

08036-10814

CLIP

SN: 2201-UP

2шт.

40

01010-31220

BOLT

SN: 2201-UP

2шт.

41

01602-01236

WASHER,SPRING

SN: 2201-UP

2шт.

42

01641-21223

WASHER

SN: 2201-UP

2шт.

Выбрано товаров: 44