Запчасти Komatsu D40PLF-1A МЕХ-М ОТБОРА МОЩН-ТИ (/) РАБОЧЕЕ ОБОРУДОВАНИЕ

Схема запчастей Komatsu D40PLF-1A - МЕХ-М ОТБОРА МОЩН-ТИ (/) РАБОЧЕЕ ОБОРУДОВАНИЕ
FIT
1:1
100%

Артикул

Название

Примечание

Количество

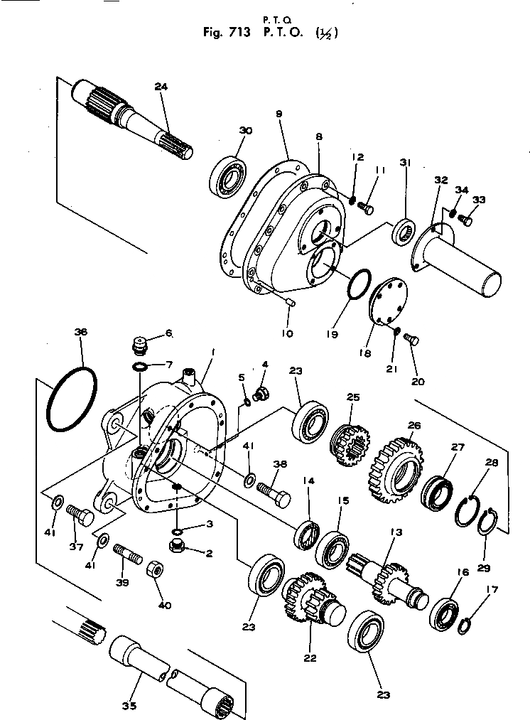
|1

12F-956-0010

P.T.O. ASS'Y

SN: 2201-UP

1шт.

1

12F-956-1111

CASE

SN: 2201-UP

1шт.

2

07044-12412

PLUG

SN: 2201-UP

1шт.

3

07002-02434

O-RING

SN: 2201-UP

1шт.

4

07040-10807

PLUG

SN: 2201-UP

1шт.

5

07002-00823

O-RING

SN: 2201-UP

1шт.

6

07030-03034

BREATHER

SN: 2201-UP

1шт.

7

07005-03016

GASKET

SN: 2201-UP

1шт.

8

12F-956-1120

CASE

SN: 2201-UP

1шт.

9

12F-956-1210

GASKET

SN: 2201-UP

1шт.

10

04020-00820

PIN,DOWEL

SN: 2201-UP

2шт.

11

01010-31030

BOLT

SN: 2201-UP

12шт.

12

01602-01030

WASHER,SPRING

SN: 2201-UP

12шт.

13

12F-956-1140

SHAFT

SN: 2201-UP

1шт.

14

07013-00050

SEAL,OIL

SN: 2201-UP

1шт.

15

06043-02210

BEARING,ROLLER

SN: 2201-UP

1шт.

16

06040-06208

BEARING,BALL

SN: 2201-UP

1шт.

17

04064-04018

RING,SNAP

SN: 2201-UP

1шт.

18

12F-956-1220

CAP

SN: 2201-UP

1шт.

19

07000-02075

O-RING

SN: 2201-UP

1шт.

20

01010-31025

BOLT

SN: 2201-UP

4шт.

21

01602-01030

WASHER,SPRING

SN: 2201-UP

4шт.

22

12F-956-1150

GEAR

SN: 2201-UP

1шт.

23

06043-02211

BEARING,ROLLER

SN: 2201-UP

3шт.

24

12F-956-1160

SHAFT

SN: 2201-UP

1шт.

25

12F-956-1170

GEAR

SN: 2201-UP

1шт.

26

12F-956-1180

GEAR

SN: 2201-UP

1шт.

27

12F-956-1190

BEARING,ROLLER

SN: 2201-UP

1шт.

28

04064-06020

RING,SNAP

SN: 2201-UP

1шт.

29

04077-00085

RING,SNAP

SN: 2201-UP

1шт.

30

06044-00309

BEARING,ROLLER

SN: 2201-UP

1шт.

31

07012-00045

SEAL,OIL

SN: 2201-UP

1шт.

32

12F-956-1230

CAP

SN: 2201-UP

1шт.

33

01010-31020

BOLT

SN: 2201-UP

5шт.

34

01602-01030

WASHER,SPRING

SN: 2201-UP

5шт.

35

12F-956-1130

JOINT

SN: 2201-UP

1шт.

36

07000-05170

O-RING

SN: 2201-UP

1шт.

37

01010-32455

BOLT

SN: 2201-UP

2шт.

38

01010-32475

BOLT

SN: 2201-UP

1шт.

39

01124-32470

STUD

SN: 2201-UP

1шт.

40

01580-12419

NUT

SN: 2201-UP

1шт.

41

01643-32460

WASHER

SN: 2201-UP

4шт.

Выбрано товаров: 42