Запчасти Komatsu D40PLL-3 РЫЧАГ ПЕРЕКЛЮЧЕНИЯ ПЕРЕДАЧ ОСНОВН. МУФТА И ТРАНСМИССИЯ

Схема запчастей Komatsu D40PLL-3 - РЫЧАГ ПЕРЕКЛЮЧЕНИЯ ПЕРЕДАЧ ОСНОВН. МУФТА И ТРАНСМИССИЯ
FIT
1:1
100%

Артикул

Название

Примечание

Количество

|$0

120-14-00010

TRANSMISSION ASS'Y

SN: 6001-UP

1шт.

|$1

12F-14-00151

TRANSMISSION ASS'Y,(FOR LOW SPEED) (D40PF)

SN: 7433-UP

1шт.

|$2

0

TRANSMISSION ASS'Y,(FOR LOW SPEED) (D40PF)

SN: 6909-7432

1шт.

|$$4

THESE ASSEMBLIES CONSIST OF ALL PARTS SHOWN IN FIGS.1231 TO 1237.

-1шт.

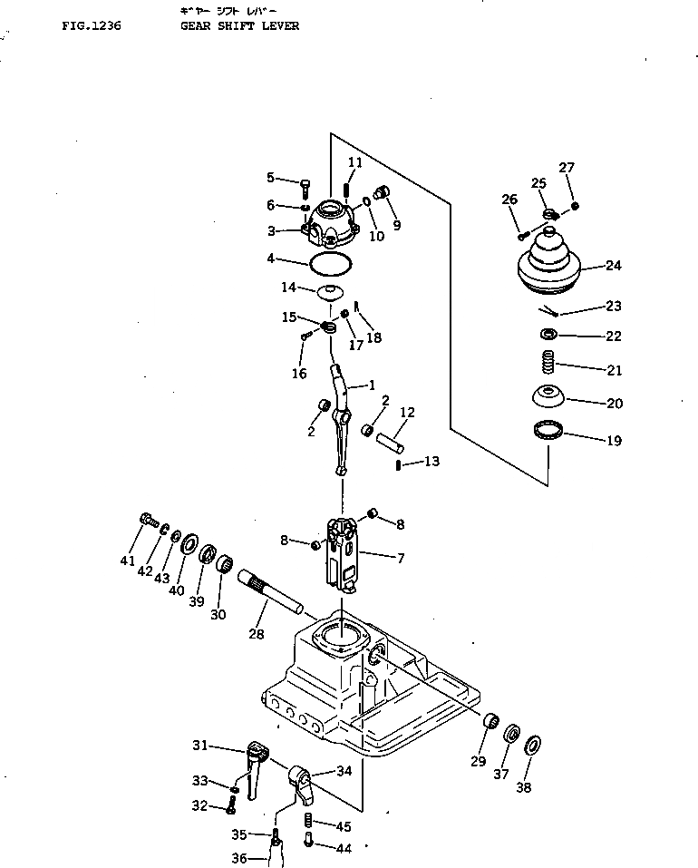
1

120-14-35240

LEVER

SN: 6001-UP

1шт.

2

06120-01612

BEARING,NEEDLE

SN: 6001-UP

2шт.

3

141-14-32711

ADAPTER

SN: 6001-UP

1шт.

4

07000-02100

O-RING (KIT)

SN: 6001-UP

1шт.

5

01010-31030

BOLT

SN: 6001-UP

4шт.

6

01602-01030

WASHER,SPRING

SN: 6001-UP

4шт.

7

120-14-35222

GATE

SN: 6001-UP

1шт.

8

06120-01612

BEARING,NEEDLE

SN: 6001-UP

2шт.

9

141-14-32721

SHAFT

SN: 6001-UP

2шт.

10

07000-02015

O-RING (KIT)

SN: 6001-UP

2шт.

11

04025-00432

PIN,SPRING

SN: 6001-UP

2шт.

12

131-14-42630

SHAFT

SN: 6001-UP

1шт.

13

04025-00412

PIN,SPRING

SN: 6001-UP

1шт.

14

141-14-32770

COVER

SN: 6001-UP

1шт.

15

170-14-12630

CLIP

SN: 6001-UP

1шт.

16

150-15-21150

SCREW

SN: 6001-UP

1шт.

17

150-15-21140

NUT

SN: 6001-UP

1шт.

18

04050-01012

PIN,COTTER (KIT)

SN: 6001-UP

1шт.

19

141-14-32760

SEAL,RING (KIT)

SN: 6001-UP

1шт.

20

120-14-35560

COVER

SN: 6001-UP

1шт.

21

120-14-35550

SPRING

SN: 6001-UP

1шт.

22

141-14-32780

WASHER

SN: 6001-UP

1шт.

23

04050-05040

PIN,COTTER (KIT)

SN: 6001-UP

1шт.

24

141-14-32630

BOOT

SN: 6001-UP

1шт.

25

150-14-15260

CLAMP

SN: 6001-UP

1шт.

26

01220-40416

SCREW

SN: 6001-UP

1шт.

27

01580-10403

NUT

SN: 6001-UP

1шт.

28

141-14-32915

SHAFT

SN: 6001-UP

1шт.

29

06120-02216

BEARING,NEEDLE

SN: 6001-UP

1шт.

30

06120-02520

BEARING,NEEDLE

SN: 6001-UP

1шт.

31

120-14-35450

LEVER

SN: 6001-UP

1шт.

32

01010-31240

BOLT

SN: 6001-UP

1шт.

33

01602-01236

WASHER,SPRING

SN: 6001-UP

1шт.

34

120-14-35460

LEVER

SN: 6001-UP

1шт.

35

131-14-43160

BOLT

SN: 6001-UP

1шт.

36

04059-01025

WIRE,LOCK (KIT)

SN: 6001-UP

1шт.

37

07012-00022

SEAL,OIL (KIT)

SN: 6001-UP

1шт.

38

141-14-32920

WASHER

SN: 6001-UP

1шт.

39

07012-00025

SEAL,OIL (KIT)

SN: 6001-UP

1шт.

40

141-14-32860

WASHER

SN: 6001-UP

1шт.

41

01010-30820

BOLT

SN: 6001-UP

1шт.

42

01602-00825

WASHER,SPRING

SN: 6001-UP

1шт.

43

141-14-32850

WASHER

SN: 6001-UP

1шт.

44

144-14-12120

PLUNGER

SN: 6001-UP

1шт.

45

144-14-12130

SPRING

SN: 6001-UP

1шт.

Выбрано товаров: 49