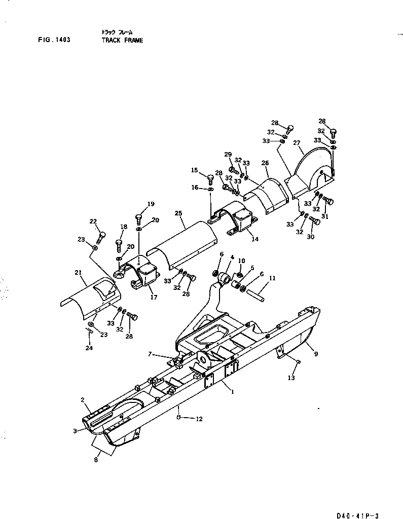
Запчасти Komatsu D40PLL-3 ГУСЕНИЧНАЯ РАМА ГУСЕНИЦЫ

Схема запчастей Komatsu D40PLL-3 - ГУСЕНИЧНАЯ РАМА ГУСЕНИЦЫ
FIT
1:1
100%

Артикул

Название

Примечание

Количество

|$0

12F-30-34102

TRACK FRAME ASS'Y,L.H.

SN: 6001-UP

1шт.

|$1

12F-30-34202

TRACK FRAME ASS'Y,R.H.

SN: 6001-UP

1шт.

1

0

FRAME,TRACK, L.H.

SN: 6001-UP

1шт.

1

0

FRAME,TRACK, R.H.

SN: 6001-UP

1шт.

2

125-30-11180

PLATE (WELDED)

SN: 6001-UP

2шт.

3

130-30-11134

PLATE (WELDED)

SN: 6001-UP

2шт.

|$6

125-30-00010

HEAD ASS'Y (WELDED)

SN: 6001-UP

1шт.

4

0

HEAD

SN: 6001-UP

1шт.

5

125-30-21230

BUSHING

SN: 6001-UP

1шт.

6

130-09-12790

SEAL,DUST

SN: 6001-UP

2шт.

7

124-30-21260

SEAT (WELDED)

SN: 6001-UP

1шт.

8

12F-30-12190

GUARD,FRONT, L.H. INNER, R.H. OUTER (WELDED)

SN: 6001-UP

1шт.

8

12F-30-12210

GUARD,FRONT, L.H. OUTER, R.H. INNER (WELDED)

SN: 6001-UP

1шт.

9

12F-30-12220

GUARD,REAR, L.H. (WELDED)

SN: 6001-UP

1шт.

9

12F-30-12180

GUARD,REAR, R.H. (WELDED)

SN: 6001-UP

1шт.

10

07020-00000

FITTING,GREASE

SN: 6001-UP

2шт.

11

125-30-21190

PIN

SN: 6001-UP

2шт.

12

07049-01620

PLUG

SN: 6001-UP

26шт.

13

07049-01418

PLUG

SN: 6001-UP

12шт.

14

12F-30-12330

SUPPORT

SN: 6001-UP

2шт.

15

01010-31845

BOLT

SN: 6001-UP

8шт.

16

01643-31845

WASHER

SN: 6001-UP

8шт.

17

12F-30-17130

SUPPORT,L.H.

SN: 6001-UP

1шт.

17

12F-30-17140

SUPPORT,R.H.

SN: 6001-UP

1шт.

18

01010-51885

BOLT

SN: 6001-UP

4шт.

19

01010-51860

BOLT

SN: 6001-UP

4шт.

20

01643-31845

WASHER

SN: 6001-UP

8шт.

|$27

12F-30-00101

COVER ASS'Y,L.H.

SN: 6001-UP

1шт.

|$28

12F-30-00111

COVER ASS'Y,R.H.

SN: 6001-UP

1шт.

21

0

COVER,L.H.

SN: 6001-UP

1шт.

21

0

COVER,R.H.

SN: 6001-UP

1шт.

22

141-30-17160

BOLT

SN: 6001-UP

1шт.

23

01640-21016

WASHER

SN: 6001-UP

2шт.

24

04050-13015

PIN,COTTER

SN: 6001-UP

1шт.

25

12F-30-34131

COVER,L.H.

SN: 6001-UP

1шт.

25

12F-30-34151

COVER,R.H.

SN: 6001-UP

1шт.

26

12F-30-34121

COVER,L.H.

SN: 6001-UP

1шт.

26

12F-30-34141

COVER,R.H.

SN: 6001-UP

1шт.

27

130-813-5751

COVER,L.H.

SN: 6001-UP

1шт.

27

130-813-5761

COVER,R.H.

SN: 6001-UP

1шт.

28

01010-31430

BOLT

SN: 6001-UP

30шт.

29

01010-31440

BOLT

SN: 6001-UP

2шт.

30

01010-31445

BOLT

SN: 6001-UP

2шт.

31

01010-31450

BOLT

SN: 6001-UP

2шт.

32

01602-01442

WASHER,SPRING

SN: 6001-UP

36шт.

33

01643-31445

WASHER

SN: 6001-UP

36шт.

Выбрано товаров: 46