Запчасти Komatsu D40PLL-3 КРЕПЛЕНИЕ ПОДУШКИ И ПОЛ МАТЕРИАЛ ОПЦИОННЫЕ КОМПОНЕНТЫ

Схема запчастей Komatsu D40PLL-3 - КРЕПЛЕНИЕ ПОДУШКИ И ПОЛ МАТЕРИАЛ ОПЦИОННЫЕ КОМПОНЕНТЫ
FIT
1:1
100%

Артикул

Название

Примечание

Количество

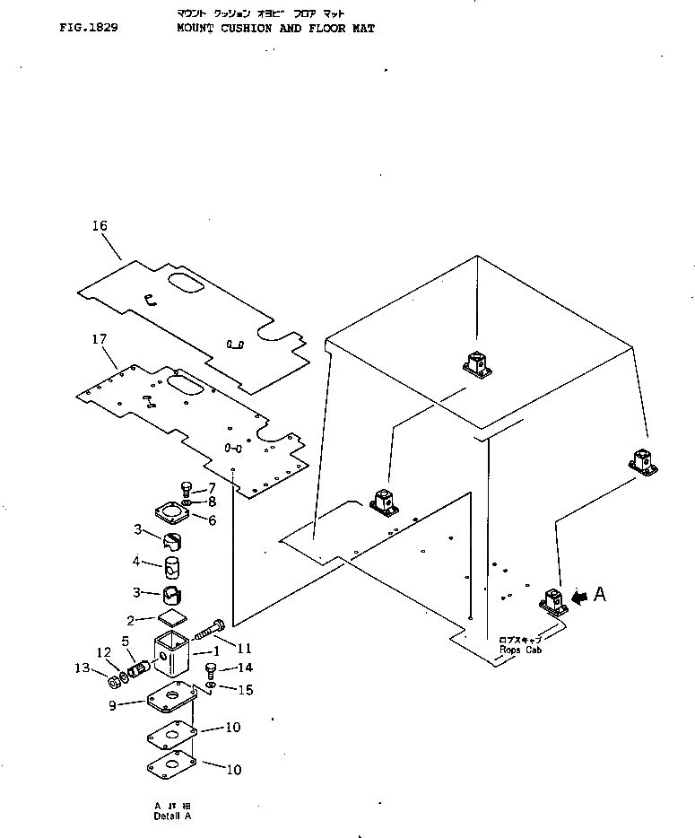
1

120-Y78-3361

BRACKET

SN: 6001-UP

4шт.

2

120-Y78-3240

PLATE

SN: 6001-UP

4шт.

3

175-978-5180

RUBBER

SN: 6001-UP

8шт.

4

175-978-5160

BLOCK

SN: 6001-UP

4шт.

5

175-978-4170

COLLAR

SN: 6001-UP

4шт.

6

120-Y78-4230

PLATE

SN: 6001-UP

4шт.

7

01010-31230

BOLT

SN: 6001-UP

16шт.

8

01602-01236

WASHER,SPRING

SN: 6001-UP

16шт.

9

120-Y78-3471

PLATE

SN: 6001-UP

4шт.

10

120-Y78-3481

PLATE

SN: 6001-UP

8шт.

11

175-978-5210

BOLT

SN: 6001-UP

4шт.

12

01643-32780

WASHER

SN: 6001-UP

4шт.

13

01580-12722

NUT

SN: 6001-UP

4шт.

14

01010-31655

BOLT

SN: 6001-UP

16шт.

15

01643-31645

WASHER

SN: 6001-UP

16шт.

16

120-Y79-4730

MAT,FLOOR, UPPER

SN: 6001-UP

1шт.

17

120-Y79-4740

MAT,FLOOR, LOWER

SN: 6001-UP

1шт.

Выбрано товаров: 17