Запчасти Komatsu D40PLL-5 РАДИАТОР И ТРУБЫ КОМПОНЕНТЫ ДВИГАТЕЛЯ И ЭЛЕКТРИКА

Схема запчастей Komatsu D40PLL-5 - РАДИАТОР И ТРУБЫ КОМПОНЕНТЫ ДВИГАТЕЛЯ И ЭЛЕКТРИКА
FIT
1:1
100%

Артикул

Название

Примечание

Количество

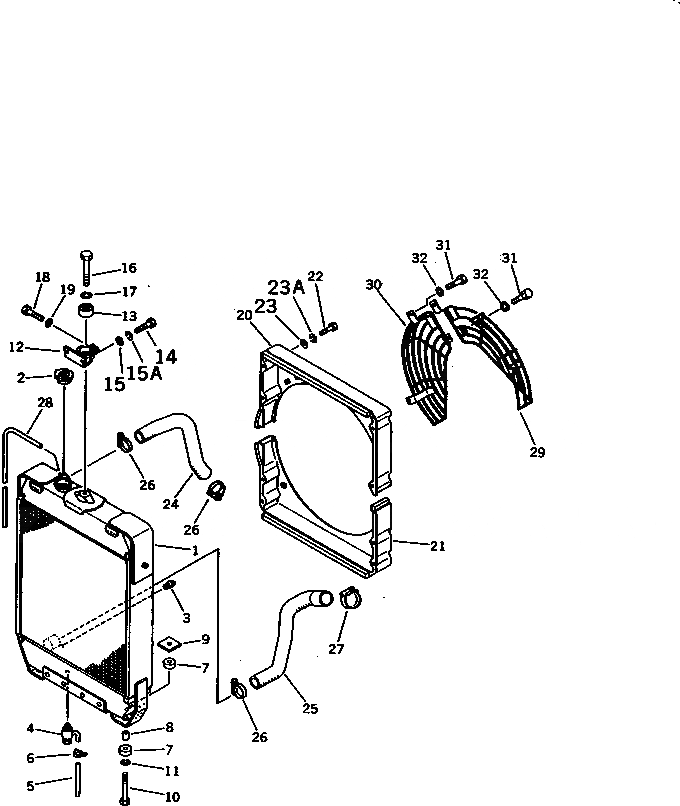
1

120-03-41110

CORE

SN: 10001-UP

1шт.

2

113-03-21240

CAP

SN: 10001-UP

1шт.

3

07042-00415

PLUG

SN: 10001-UP

1шт.

4

07730-40004

VALVE

SN: 10001-UP

1шт.

5

07270-01520

TUBE

SN: 10001-UP

1шт.

6

07280-01920

CLAMP

SN: 10001-UP

1шт.

7

113-03-21160

SEAT

SN: 10001-UP

4шт.

8

113-03-21170

SPACER

SN: 10001-UP

2шт.

9

113-03-21180

PLATE

SN: 10001-UP

2шт.

10

01010-51070

BOLT

SN: 10001-UP

2шт.

11

01602-21030

WASHER,SPRING

SN: 10001-UP

2шт.

12

113-03-21190

BRACKET

SN: 10001-UP

1шт.

13

135-03-12110

DAMPER

SN: 10001-UP

1шт.

14

01010-51235

BOLT

SN: 10001-UP

2шт.

15

01643-31232

WASHER

SN: 10001-UP

2шт.

15A

01602-21236

WASHER,SPRING

SN: 10001-UP

2шт.

16

01010-51460

BOLT

SN: 10001-UP

1шт.

17

01602-21442

WASHER,SPRING

SN: 10001-UP

1шт.

18

01010-51035

BOLT

SN: 10001-UP

1шт.

19

01643-31032

WASHER

SN: 10001-UP

1шт.

20

120-03-41210

SHROUD,UPPER

SN: 10001-UP

1шт.

21

120-03-41220

SHROUD,LOWER

SN: 10001-UP

1шт.

22

01010-50816

BOLT

SN: 10001-UP

8шт.

23

01643-30823

WASHER

SN: 10001-UP

8шт.

23A

01602-20825

WASHER,SPRING

SN: 10001-UP

8шт.

24

120-03-32251

HOSE,INLET

SN: 10001-UP

1шт.

25

120-03-32262

HOSE,OUTLET

SN: 10032-UP

1шт.

|25

120-03-32261

HOSE,OUTLET

SN: 10001-10031

1шт.

26

208-09-11120

CLAMP

SN: 10193-UP

3шт.

|26

07281-00709

CLAMP

SN: 10001-10192

3шт.

27

208-09-11120

CLAMP

SN: 10193-UP

1шт.

|27

07281-00809

CLAMP

SN: 10001-10192

1шт.

28

113-03-21140

TUBE

SN: 10001-UP

1шт.

29

12F-03-41110

GUARD,FAN

SN: 10001-UP

1шт.

30

120-03-41320

GUARD,FAN

SN: 10001-UP

1шт.

31

01010-51025

BOLT

SN: 10001-UP

5шт.

32

01602-21030

WASHER,SPRING

SN: 10001-UP

5шт.

Выбрано товаров: 37