Запчасти Komatsu D40PLL-5 СТАЛЬНАЯ КАБИНА (/)(№-) ЧАСТИ КОРПУСА

Схема запчастей Komatsu D40PLL-5 - СТАЛЬНАЯ КАБИНА (/)(№-) ЧАСТИ КОРПУСА
FIT
1:1
100%

Артикул

Название

Примечание

Количество

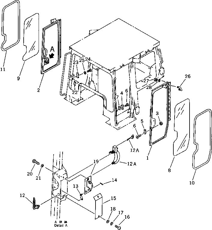
1

144-Y11-2120

DOOR,L.H.

SN: 10510-UP

1шт.

2

144-Y11-2130

DOOR,R.H.

SN: 10510-UP

1шт.

3

01580-10806

NUT

SN: 10510-UP

2шт.

4

566-54-13410

STRIKER

SN: 10510-UP

1шт.

5

566-54-14420

STOPPER

SN: 10510-UP

1шт.

6

01225-40816

SCREW

SN: 10510-UP

4шт.

7

144-Y11-2750

SHIM

SN: 10510-UP

4шт.

8

144-Y11-2170

GLASS,L.H.

SN: 10510-UP

1шт.

9

144-Y11-2180

GLASS,R.H.

SN: 10510-UP

1шт.

10

144-Y11-2220

STRIP,WEATHER¤ L.H.

SN: 10510-UP

1шт.

11

144-Y11-2230

STRIP,WEATHER¤ R.H.

SN: 10510-UP

1шт.

12

144-Y11-2660

HANDLE,INNER

SN: 10510-UP

2шт.

12A

144-Y11-2650

HANDLE¤ WITH KEY,OUTER

SN: 10510-UP

2шт.

13

144-Y11-2710

LEVER,L.H.

SN: 10510-UP

1шт.

|13

144-Y11-2720

LEVER,R.H.

SN: 10510-UP

1шт.

14

04050-11210

PIN,COTTER

SN: 10510-UP

2шт.

15

144-Y11-2730

COVER,L.H.

SN: 10510-UP

1шт.

|15

144-Y11-2740

COVER,R.H.

SN: 10510-UP

1шт.

16

01220-40616

SCREW

SN: 10510-UP

4шт.

17

01602-20619

WASHER,SPRING

SN: 10510-UP

4шт.

18

01642-20608

WASHER

SN: 10510-UP

4шт.

19

144-Y11-2670

LOCK ASS'Y,L.H.

SN: 10510-UP

1шт.

|19

144-Y11-2680

LOCK ASS'Y,R.H.

SN: 10510-UP

1шт.

20

01225-40616

SCREW

SN: 10510-UP

6шт.

21

205-54-53720

WASHER

SN: 10510-UP

6шт.

22

144-Y11-2690

PLATE

SN: 10510-UP

2шт.

23

566-54-25511

STRIKER,L.H.

SN: 10510-UP

1шт.

|23

566-54-24511

STRIKER,R.H.

SN: 10510-UP

1шт.

24

01225-40816

SCREW

SN: 10510-UP

6шт.

25

566-54-13570

WASHER

SN: 10510-UP

6шт.

26

144-Y11-2770

BAR

SN: 10510-UP

2шт.

27

01580-11008

NUT

SN: 10510-UP

8шт.

28

01602-21030

WASHER,SPRING

SN: 10510-UP

8шт.

Выбрано товаров: 33