Запчасти Komatsu 6D105-1CC-PL ГОЛОВКА ЦИЛИНДРОВ COVER ГОЛОВКА ЦИЛИНДРОВ

Схема запчастей Komatsu 6D105-1CC-PL - ГОЛОВКА ЦИЛИНДРОВ COVER ГОЛОВКА ЦИЛИНДРОВ
FIT
1:1
100%

Артикул

Название

Примечание

Количество

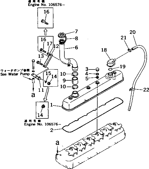
1

6136-11-8112

COVER,HEAD

SN: 92268-UP

1шт.

2

6136-11-8814

O-RING (K1)

SN: 92268-UP

1шт.

3

6134-11-8120

NUT

SN: 92268-UP

4шт.

4

6136-11-8130

WASHER

SN: 92268-UP

4шт.

5

6136-11-8142

PACKING (K1)

SN: 92268-UP

4шт.

6

6136-21-7510

FILLER,OIL

SN: 92268-UP

1шт.

7

6136-21-7120

CAP ASS'Y

SN: 92268-UP

1шт.

|7

6136-21-7180

GASKET

SN: 92268-UP

1шт.

8

6136-21-7190

CHAIN

SN: 92268-UP

1шт.

9

6131-12-8970

HOSE

SN: 92268-UP

1шт.

10

07281-00709

CLAMP

SN: 92268-UP

2шт.

11

6136-21-7730

BRACKET

SN: 92268-UP

1шт.

12

6136-21-7740

BRACKET

SN: 92268-UP

1шт.

13

01435-01025

BOLT

SN: 106576-UP

1шт.

|13

0

BOLT

SN: 92268-106575

1шт.

14

01584-01008

NUT

SN: 106576-UP

1шт.

|14

0

NUT

SN: 92268-106575

1шт.

15

01602-01030

WASHER,SPRING

SN: 92268-106575

1шт.

16

01435-01025

BOLT

SN: 106576-UP

1шт.

|16

0

BOLT

SN: 92268-106575

1шт.

17

01602-01030

WASHER,SPRING

SN: 92268-106575

1шт.

18

6150-21-6750

BREATHER

SN: 92268-UP

1шт.

19

6114-21-5190

O-RING (K1)

SN: 92268-UP

1шт.

20

6131-12-8860

HOSE,BREATHER

SN: 92268-UP

1шт.

21

07285-00230

CLIP

SN: 94864-UP

1шт.

|21

0

CLIP

SN: 92964-94863

1шт.

|21

0

CLAMP

SN: 92268-92963

1шт.

22

6600-01-5950

CLIP

SN: 92268-UP

1шт.

1

6136-11-8112

COVER,HEAD

SN: 92268-UP

1шт.

2

6136-11-8814

O-RING (K1)

SN: 92268-UP

1шт.

3

6134-11-8120

NUT

SN: 92268-UP

4шт.

4

6136-11-8130

WASHER

SN: 92268-UP

4шт.

5

6136-11-8142

PACKING (K1)

SN: 92268-UP

4шт.

6

6136-21-7510

FILLER,OIL

SN: 92268-UP

1шт.

7

6136-21-7120

CAP ASS'Y

SN: 92268-UP

1шт.

|7

6136-21-7180

GASKET

SN: 92268-UP

1шт.

8

6136-21-7190

CHAIN

SN: 92268-UP

1шт.

9

6131-12-8970

HOSE

SN: 92268-UP

1шт.

10

07281-00709

CLAMP

SN: 92268-UP

2шт.

11

6136-21-7730

BRACKET

SN: 92268-UP

1шт.

12

6136-21-7740

BRACKET

SN: 92268-UP

1шт.

13

01435-01025

BOLT

SN: 106576-UP

1шт.

|13

0

BOLT

SN: 92268-106575

1шт.

14

01584-01008

NUT

SN: 106576-UP

1шт.

|14

0

NUT

SN: 92268-106575

1шт.

15

01602-01030

WASHER,SPRING

SN: 92268-106575

1шт.

16

01435-01025

BOLT

SN: 106576-UP

1шт.

|16

0

BOLT

SN: 92268-106575

1шт.

17

01602-01030

WASHER,SPRING

SN: 92268-106575

1шт.

18

6150-21-6750

BREATHER

SN: 92268-UP

1шт.

19

6114-21-5190

O-RING (K1)

SN: 92268-UP

1шт.

20

6131-12-8860

HOSE,BREATHER

SN: 92268-UP

1шт.

21

07285-00230

CLIP

SN: 94864-UP

1шт.

|21

0

CLIP

SN: 92964-94863

1шт.

|21

0

CLAMP

SN: 92268-92963

1шт.

22

6600-01-5950

CLIP

SN: 92268-UP

1шт.

Выбрано товаров: 56