Запчасти Komatsu D41A-3 АККУМУЛЯТОР КОМПОНЕНТЫ ДВИГАТЕЛЯ И ЭЛЕКТРИКА

Схема запчастей Komatsu D41A-3 - АККУМУЛЯТОР КОМПОНЕНТЫ ДВИГАТЕЛЯ И ЭЛЕКТРИКА
FIT
1:1
100%

Артикул

Название

Примечание

Количество

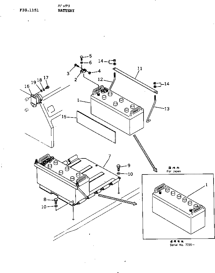
1

08000-32212

BATTERY, WET(115E41R,(FOR JAPAN)

SN: 7235-UP

2шт.

1

0

BATTERY (115F51),(FOR JAPAN)

SN: 6001-7234

2шт.

|$$3

(08000-32212,113-06-21170)

-1шт.

1

08000-12212

BATTERY (115F51),(EXCEPT JAPAN)

SN: 6001-UP

2шт.

1

08000-02220

BATTERY (190H52),(FOR JAPAN)

SN: 6001-UP

2шт.

1

08000-12220

BATTERY (190H52),(EXCEPT JAPAN)

SN: 6001-UP

2шт.

2

08000-00000

TERMINAL, (+)

SN: 6001-UP

2шт.

2

08000-00001

TERMINAL, (-)

SN: 6001-UP

2шт.

3

01010-30830

BOLT

SN: 6001-UP

1шт.

4

01580-00806

NUT

SN: 6001-UP

1шт.

5

01050-31018

BOLT

SN: 6001-UP

1шт.

6

01640-01016

WASHER

SN: 6001-UP

1шт.

7

120-06-31131

PLATE

SN: 6001-UP

1шт.

8

01010-31230

BOLT

SN: 6001-UP

2шт.

9

01010-31240

BOLT

SN: 6001-UP

2шт.

10

01602-01236

WASHER,SPRING

SN: 6001-UP

4шт.

11

120-06-31141

HOLDER,BATTERY

SN: 6001-UP

2шт.

12

120-06-31151

BOLT

SN: 6001-UP

2шт.

13

120-06-31161

ROD

SN: 6001-UP

2шт.

14

01580-11008

NUT

SN: 6001-UP

8шт.

15

120-06-31171

PLATE

SN: 6001-UP

1шт.

16

08088-10000

SWITCH,BATTERY RELAY

SN: 6001-UP

1шт.

17

01010-30825

BOLT

SN: 6001-UP

2шт.

18

01602-00825

WASHER,SPRING

SN: 6001-UP

2шт.

19

01643-30823

WASHER

SN: 6001-UP

2шт.

Выбрано товаров: 25