/ / / / / / УСИЛЕНН. НИЖН. ЗАЩИТА (С ПЕРЕДН. КРЮК)
Запчасти Komatsu D41A-3 УСИЛЕНН. НИЖН. ЗАЩИТА (С ПЕРЕДН. КРЮК) ОПЦИОННЫЕ КОМПОНЕНТЫ
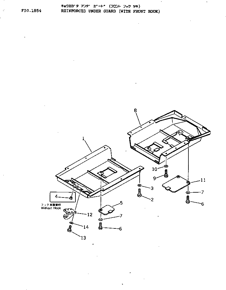
1
120-54-35152
GUARD,FRONT
SN: 6001-UP
1шт.
2
01010-51640
BOLT
SN: 6001-UP
6шт.
3
01643-31645
WASHER
SN: 6001-UP
6шт.
4
07049-01620
PLUG
SN: 6001-UP
6шт.
5
125-54-26120
COVER
SN: 6001-UP
4шт.
6
01010-31225
BOLT
SN: 6001-UP
6шт.
7
01602-01236
WASHER,SPRING
SN: 6001-UP
6шт.
8
120-54-35162
GUARD,REAR
SN: 6001-UP
1шт.
9
01010-31640
BOLT
SN: 6001-UP
8шт.
10
01643-31645
WASHER
SN: 6001-UP
8шт.
11
120-54-35171
COVER
SN: 6001-UP
1шт.
12
111-944-1110
HOOK
SN: 6001-UP
1шт.
13
01010-31650
BOLT
SN: 6001-UP
6шт.
14
01602-01648
WASHER,SPRING
SN: 6001-UP
6шт.
Выбрано товаров: 0