Запчасти Komatsu D41A-3 МАРКИРОВКА (АНГЛ.) ЧАСТИ КОРПУСА

Схема запчастей Komatsu D41A-3 - МАРКИРОВКА (АНГЛ.) ЧАСТИ КОРПУСА
FIT
1:1
100%

Артикул

Название

Примечание

Количество

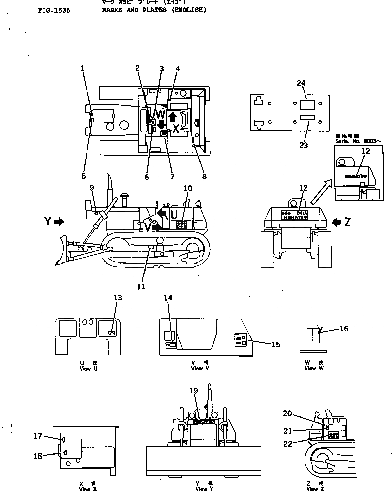
1

09668-03000

PLATE, SAFETY,RADIATOR CAP

SN: 6001-UP

1шт.

2

09654-03000

PLATE, SAFETY,STARTING AND LEAVING SEAT

SN: 6001-UP

1шт.

3

09173-03000

PLATE, SAFETY,INSPECTION AND MAINTENANCE

SN: 6001-UP

1шт.

4

09670-00001

PLATE, OPERATING,WORK EQUIPMENT

SN: 6001-UP

1шт.

5

09650-30103

PLATE, INSTRUCTION,RADIATOR

SN: 6001-UP

1шт.

6

09651-03000

PLATE, SAFETY,BEFORE OPERATING

SN: 6001-UP

1шт.

7

124-54-32251

PLATE, OPERATING,TRANSMISSION

SN: 6001-UP

1шт.

7

04418-03060

SCREW

SN: 6001-UP

6шт.

8

09652-30101

PLATE, CAUTION,FUEL TANK

SN: 6001-UP

1шт.

9

09667-03000

PLATE, SAFETY,ENGINE COVER

SN: 6001-UP

2шт.

10

124-54-36330

PLATE, MARK,D41A

SN: 8003-UP

1шт.

10

0

PLATE, MARK,D41A

SN: 6001-8002

1шт.

11

09657-03010

PLATE, SAFETY,TRACK SHOE ADJUSTING

SN: 6001-UP

2шт.

12

09690-B0400

PLATE, MARK,D41A

SN: 8003-UP

1шт.

12

0

PLATE, MARK,D41A

SN: 7826-8002

1шт.

12

0

PLATE, MARK,D41A

SN: 6001-7825

1шт.

13

09683-30060

PLATE, OPERATING,STARTING SWITCH

SN: 6001-UP

1шт.

14

09602-01635

PLATE, NAME,(LIMITED SUPPLY)

SN: 6001-UP

1шт.

14

04418-13060

SCREW

SN: 6001-UP

4шт.

15

124-54-36411

CHART, OIL

SN: 6001-UP

1шт.

16

09685-00002

PLATE, OPERATING,LEVER LOCK

SN: 6001-UP

1шт.

17

09685-00001

PLATE, OPERATING,LEVER LOCK

SN: 6001-UP

1шт.

18

09685-00001

PLATE, OPERATING,PARKING BRAKE

SN: 6001-UP

1шт.

19

09690-B0280

PLATE, MARK,KOMATSU

SN: 8003-UP

1шт.

19

0

PLATE, MARK,KOMATSU

SN: 6001-8002

1шт.

19

175-54-41420

SCREW

SN: 6001-UP

2шт.

19

175-54-41430

WASHER

SN: 6001-UP

2шт.

20

09653-03000

PLATE, SAFETY,HYDRAULIC TANK

SN: 6001-UP

1шт.

21

120-98-31131

PLATE, CAUTION,HYDRAULIC FILTER

SN: 6001-UP

1шт.

22

124-54-36330

PLATE, MARK,D41A

SN: 8003-UP

1шт.

22

0

PLATE, MARK,D41A

SN: 6001-8002

1шт.

23

09664-30065

PLATE, SAFETY,BATTERY (FOR USA, PUERTO RICO)

SN: 6001-UP

1шт.

24

09664-30081

PLATE, SAFETY,BATTERY (FOR USA, PUERTO RICO)

SN: 6001-UP

1шт.

Выбрано товаров: 33