Запчасти Komatsu D41A-3 РУЛЕВ. УПРАВЛЕНИЕ КОРПУС COVER СИСТЕМАУПРАВЛЕНИЯ ПОВОРОТОМ И КОНЕЧНАЯ ПЕРЕДАЧА

Схема запчастей Komatsu D41A-3 - РУЛЕВ. УПРАВЛЕНИЕ КОРПУС COVER СИСТЕМАУПРАВЛЕНИЯ ПОВОРОТОМ И КОНЕЧНАЯ ПЕРЕДАЧА
FIT
1:1
100%

Артикул

Название

Примечание

Количество

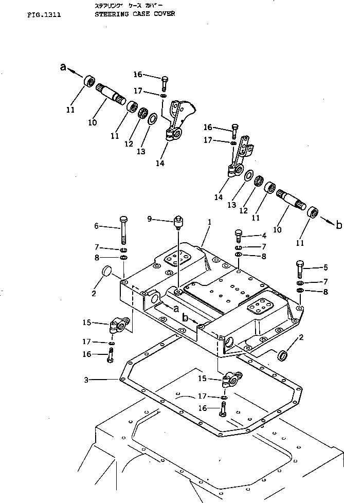
1

120-43-31113

COVER

SN: 6001-UP

1шт.

2

07046-24516

PLUG

SN: 6001-UP

2шт.

3

120-43-31121

GASKET

SN: 6001-UP

1шт.

4

01010-31440

BOLT

SN: 6001-UP

9шт.

5

01010-31465

BOLT

SN: 6001-UP

10шт.

6

01011-31420

BOLT

SN: 6001-UP

4шт.

7

01602-01442

WASHER,SPRING

SN: 6001-UP

23шт.

8

01643-31445

WASHER

SN: 6001-UP

23шт.

9

07030-10252

BREATHER

SN: 6001-UP

1шт.

10

120-43-31222

SHAFT

SN: 6001-UP

2шт.

11

06120-03520

BEARING,NEEDLE

SN: 6001-UP

4шт.

12

120-43-31161

SEAL,DUST

SN: 6001-UP

2шт.

13

130-814-5250

COLLAR

SN: 6001-UP

2шт.

14

120-43-31232

LEVER,L.H.

SN: 6001-UP

1шт.

14

120-43-35112

LEVER,R.H. D40

SN: 6001-UP

1шт.

14

120-43-31242

LEVER,R.H. D41

SN: 6001-UP

1шт.

15

120-43-31211

LEVER

SN: 6001-UP

2шт.

16

01010-31240

BOLT

SN: 6001-UP

4шт.

17

01602-01236

WASHER,SPRING

SN: 6001-UP

4шт.

Выбрано товаров: 0