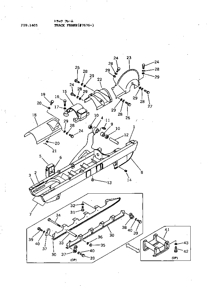
Запчасти Komatsu D41A-3 ГУСЕНИЧНАЯ РАМА(№77-) ГУСЕНИЦЫ

Схема запчастей Komatsu D41A-3 - ГУСЕНИЧНАЯ РАМА(№77-) ГУСЕНИЦЫ
FIT
1:1
100%

Артикул

Название

Примечание

Количество

|$0

120-30-00040

TRACK FRAME ASS'Y,L.H.

SN: 7676-UP

1шт.

|$1

120-30-00050

TRACK FRAME ASS'Y,R.H.

SN: 7676-UP

1шт.

1

0

FRAME,L.H.

SN: 7676-UP

1шт.

1

0

FRAME,R.H.

SN: 7676-UP

1шт.

2

125-30-11180

PLATE (WELDED)

SN: 7676-UP

2шт.

3

130-30-11134

PLATE (WELDED)

SN: 7676-UP

2шт.

4

0

HEAD (WELDED)

SN: 7676-UP

1шт.

5

120-30-31191

BRACKET (WELDED)

SN: 7676-UP

1шт.

6

124-30-21260

SEAT (WELDED)

SN: 7676-UP

1шт.

7

125-30-21340

GUARD,FRONT, INNER (WELDED)

SN: 7676-UP

1шт.

7

125-30-21330

GUARD,FRONT, OUTER (WELDED)

SN: 7676-UP

1шт.

8

125-30-21350

GUARD,REAR, L.H. (WELDED)

SN: 7676-UP

1шт.

8

125-30-21360

GUARD,REAR, R.H. (WELDED)

SN: 7676-UP

1шт.

9

125-30-21230

BUSHING

SN: 7676-UP

1шт.

10

130-09-12790

SEAL,DUST

SN: 7676-UP

2шт.

11

07020-00000

FITTING,GREASE

SN: 7676-UP

2шт.

12

125-30-21190

PIN

SN: 7676-UP

2шт.

13

07049-01620

PLUG

SN: 7676-UP

18шт.

14

07049-01418

PLUG

SN: 7676-UP

12шт.

15

125-30-17150

SUPPORT,L.H.

SN: 7676-UP

1шт.

15

125-30-17160

SUPPORT,R.H.

SN: 7676-UP

1шт.

16

01010-31855

BOLT

SN: 7676-UP

8шт.

17

01643-31845

WASHER

SN: 7676-UP

8шт.

|$23

120-30-00011

COVER ASS'Y,L.H.

SN: 7676-UP

1шт.

|$24

120-30-00021

COVER ASS'Y,R.H.

SN: 7676-UP

1шт.

18

0

COVER,L.H.

SN: 7676-UP

1шт.

18

0

COVER,R.H.

SN: 7676-UP

1шт.

19

141-30-17160

BOLT

SN: 7676-UP

1шт.

20

01640-21016

WASHER

SN: 7676-UP

2шт.

21

04050-13015

PIN,COTTER

SN: 7676-UP

1шт.

22

125-30-17130

COVER,L.H.

SN: 7676-UP

1шт.

22

120-Y20-3441

COVER,R.H.

SN: 7676-UP

1шт.

23

130-813-5751

COVER,L.H.

SN: 7676-UP

1шт.

23

130-813-5761

COVER,R.H.

SN: 7676-UP

1шт.

24

01010-31430

BOLT

SN: 7676-UP

18шт.

25

01010-31440

BOLT

SN: 7676-UP

2шт.

26

01010-31445

BOLT

SN: 7676-UP

2шт.

27

01010-31450

BOLT

SN: 7676-UP

2шт.

28

01602-01442

WASHER,SPRING

SN: 7676-UP

24шт.

29

01643-31445

WASHER

SN: 7676-UP

24шт.

30

124-30-21310

GUARD,INNER, L.H.

SN: 7676-UP

1шт.

30

124-30-21320

GUARD,INNER, R.H.

SN: 7676-UP

1шт.

30

125-30-21410

GUARD,OUTER, L.H.

SN: 7676-UP

1шт.

30

125-30-21420

GUARD,OUTER, R.H.

SN: 7676-UP

1шт.

31

01010-31640

BOLT

SN: 7676-UP

18шт.

32

01643-31645

WASHER

SN: 7676-UP

18шт.

33

141-30-12151

COLLAR

SN: 7676-UP

8шт.

34

09205-18295

BOLT

SN: 7676-UP

8шт.

35

01580-11815

NUT

SN: 7676-UP

8шт.

36

01643-31845

WASHER

SN: 7676-UP

8шт.

37

130-30-12180

PLATE,FRONT, INNER, L.H. OUTER, R.H.

SN: 7676-UP

2шт.

37

130-30-12170

PLATE,FRONT, INNER, R.H. OUTER, L.H.

SN: 7676-UP

2шт.

38

130-30-12170

PLATE,REAR, L.H.

SN: 7676-UP

1шт.

38

130-30-12180

PLATE,REAR, R.H.

SN: 7676-UP

1шт.

39

01010-31430

BOLT

SN: 7676-UP

12шт.

40

01602-01442

WASHER,SPRING

SN: 7676-UP

12шт.

41

120-30-32511

GUARD

SN: 7676-UP

2шт.

42

01010-31640

BOLT

SN: 7676-UP

8шт.

43

01643-31645

WASHER

SN: 7676-UP

8шт.

Выбрано товаров: 59