Запчасти Komatsu D41A-3 МАРКИРОВКА (АНГЛ.)(№77-) ЧАСТИ КОРПУСА

Схема запчастей Komatsu D41A-3 - МАРКИРОВКА (АНГЛ.)(№77-) ЧАСТИ КОРПУСА
FIT
1:1
100%

Артикул

Название

Примечание

Количество

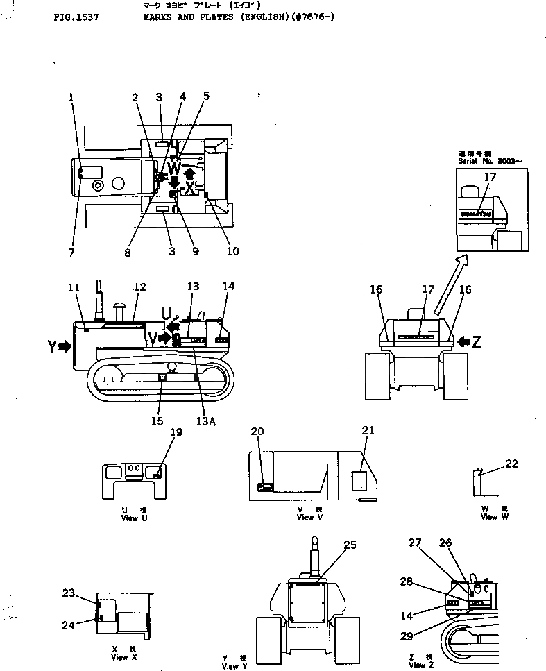
1

09668-03000

PLATE, SAFETY,RADIATOR CAP

SN: 7676-UP

1шт.

2

09654-03000

PLATE, SAFETY,STARTING AND LEAVING SEAT

SN: 7676-UP

1шт.

3

120-54-32451

SHEET,ANTISKID

SN: 7676-UP

2шт.

4

09173-03000

PLATE, SAFETY,INSPECTION AND MAINTENANCE

SN: 7676-UP

1шт.

5

09670-00004

PLATE, OPERATING,WORK EQUIPMENT

SN: 7676-UP

1шт.

7

09650-30103

PLATE, INSTRUCTION,RADIATOR

SN: 7676-UP

1шт.

8

09651-03000

PLATE, SAFETY,BEFORE OPERATING

SN: 7676-UP

1шт.

9

124-54-32251

PLATE, OPERATING,TRANSMISSION

SN: 7676-UP

1шт.

9

04418-03060

SCREW

SN: 7676-UP

6шт.

10

09652-30101

PLATE, CAUTION,FUEL TANK

SN: 7676-UP

1шт.

11

09667-03000

PLATE, SAFETY,ENGINE COVER

SN: 7676-UP

2шт.

12

12F-54-31320

PLATE, MARK,L.H.

SN: 7676-UP

1шт.

12

12F-54-31330

PLATE, MARK,R.H.

SN: 7676-UP

1шт.

13

124-54-45160

PLATE, MARK,D41A

SN: 8003-UP

1шт.

13

0

PLATE, MARK,D41A

SN: 7911-8002

1шт.

13

0

PLATE, MARK,D41A

SN: 7676-7910

1шт.

13A

134-54-35132

PLATE, MARK

SN: 8003-UP

1шт.

14

134-54-35110

PLATE, MARK

SN: 7676-8002

2шт.

15

09657-03010

PLATE, SAFETY,TRACK SHOE ADJUSTING

SN: 7676-UP

2шт.

16

134-54-35170

PLATE, MARK

SN: 7676-UP

3шт.

17

09690-C0400

PLATE, MARK,KOMATSU

SN: 8003-UP

1шт.

17

0

PLATE, MARK,KOMATSU

SN: 7676-8002

1шт.

19

09683-30060

PLATE, OPERATING,STARTING SWITCH

SN: 7676-UP

1шт.

20

09602-01635

PLATE, NAME,(LIMITED SUPPLY)

SN: 7676-UP

1шт.

20

04418-13060

SCREW

SN: 7676-UP

4шт.

21

124-54-36411

CHART, OIL

SN: 7676-UP

1шт.

22

09685-00002

PLATE, OPERATING,LEVER LOCK

SN: 7676-UP

1шт.

23

120-98-31121

PLATE, OPERATING,LEVER LOCK

SN: 7676-UP

1шт.

24

09685-00001

PLATE, OPERATING,PARKING BRAKE

SN: 7676-UP

1шт.

25

09690-C0280

PLATE, MARK,KOMATSU

SN: 8003-UP

1шт.

25

0

PLATE, MARK,KOMATSU

SN: 7676-8002

1шт.

26

09653-03000

PLATE, SAFETY,HYDRAULIC TANK

SN: 7676-UP

1шт.

27

120-98-31131

PLATE, CAUTION,HYDRAULIC FILTER

SN: 7676-UP

1шт.

28

124-54-45160

PLATE, MARK,D41A

SN: 8003-UP

1шт.

28

0

PLATE, MARK,D41A

SN: 7911-8002

1шт.

28

0

PLATE, MARK,D41A

SN: 7676-7910

1шт.

29

124-54-45142

PLATE, MARK

SN: 8003-UP

1шт.

Выбрано товаров: 37