Запчасти Komatsu D41A-3 КРЫЛО И ЗАДН. КРЫШКА (REGULATION OF EC NCLUSION)(№78-) ОПЦИОННЫЕ КОМПОНЕНТЫ

Схема запчастей Komatsu D41A-3 - КРЫЛО И ЗАДН. КРЫШКА (REGULATION OF EC NCLUSION)(№78-) ОПЦИОННЫЕ КОМПОНЕНТЫ
FIT
1:1
100%

Артикул

Название

Примечание

Количество

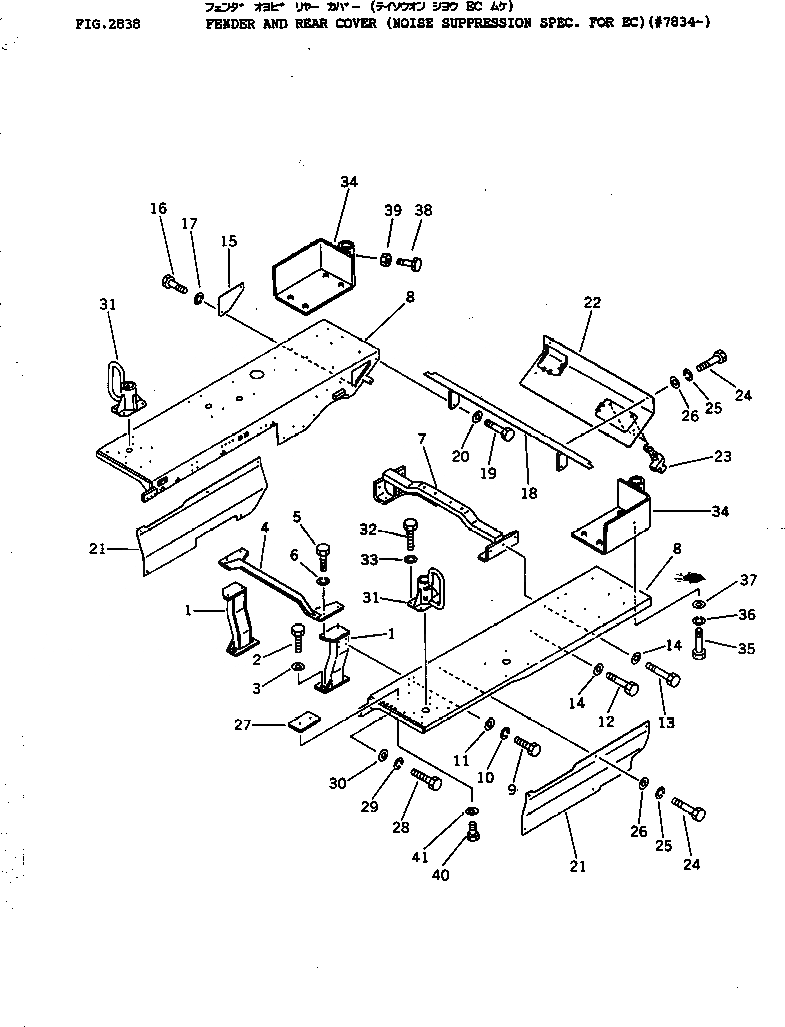
1

120-54-33334

BRACKET,L.H.

SN: 7834-UP

1шт.

1

120-54-33324

BRACKET,R.H.

SN: 7834-UP

1шт.

2

01010-52045

BOLT

SN: 7834-UP

4шт.

3

01643-32060

WASHER

SN: 7834-UP

4шт.

4

120-54-33312

FRAME

SN: 7834-UP

1шт.

5

01010-31245

BOLT

SN: 7834-UP

4шт.

6

01602-01236

WASHER,SPRING

SN: 7834-UP

4шт.

7

120-54-32274

BRACKET

SN: 7834-UP

1шт.

8

120-54-33192

FENDER,L.H.

SN: 7834-UP

1шт.

8

120-54-33182

FENDER,R.H.

SN: 7834-UP

1шт.

9

01010-51235

BOLT

SN: 7834-UP

8шт.

10

01602-21236

WASHER,SPRING

SN: 7834-UP

8шт.

11

01643-31232

WASHER

SN: 7834-UP

8шт.

12

01010-51665

BOLT

SN: 7834-UP

10шт.

13

01010-51670

BOLT

SN: 7834-UP

6шт.

14

01643-31645

WASHER

SN: 7834-UP

16шт.

15

120-54-33172

COVER

SN: 7834-UP

2шт.

16

01010-51225

BOLT

SN: 7834-UP

4шт.

17

01602-21236

WASHER,SPRING

SN: 7834-UP

4шт.

18

120-54-33381

FRAME

SN: 7834-UP

1шт.

19

01010-51635

BOLT

SN: 7834-UP

2шт.

20

01643-31645

WASHER

SN: 7834-UP

2шт.

21

120-Y16-3931

COVER,L.H.

SN: 7834-UP

1шт.

21

120-54-33233

COVER,R.H.

SN: 7834-UP

1шт.

22

120-Y46-5632

COVER

SN: 7834-UP

1шт.

23

09459-00000

LOCK

SN: 7834-UP

1шт.

24

01010-51230

BOLT

SN: 7834-UP

14шт.

25

01602-21236

WASHER,SPRING

SN: 7834-UP

14шт.

26

01643-31232

WASHER

SN: 7834-UP

14шт.

27

120-54-35240

PLATE

SN: 7834-UP

2шт.

28

01010-51240

BOLT

SN: 7834-UP

4шт.

29

01602-21236

WASHER,SPRING

SN: 7834-UP

4шт.

30

01643-31232

WASHER

SN: 7834-UP

4шт.

31

120-54-33411

BRACKET

SN: 7834-UP

2шт.

32

01010-51430

BOLT

SN: 7834-UP

8шт.

33

01602-21442

WASHER,SPRING

SN: 7834-UP

8шт.

34

120-54-33421

BRACKET,L.H.

SN: 7834-UP

1шт.

34

120-54-33431

BRACKET,R.H.

SN: 7834-UP

1шт.

35

01010-51655

BOLT

SN: 7834-UP

8шт.

36

01602-21648

WASHER,SPRING

SN: 7834-UP

8шт.

37

01643-31645

WASHER

SN: 7834-UP

8шт.

38

01016-51645

BOLT

SN: 7834-UP

8шт.

39

01580-11613

NUT

SN: 7834-UP

8шт.

40

01010-51655

BOLT

SN: 7834-UP

4шт.

41

01643-31645

WASHER

SN: 7834-UP

4шт.

Выбрано товаров: 45