Запчасти Komatsu D41A-3 ПРЯМОЙ ОТВАЛ ОПЦИОННЫЕ КОМПОНЕНТЫ

Схема запчастей Komatsu D41A-3 - ПРЯМОЙ ОТВАЛ ОПЦИОННЫЕ КОМПОНЕНТЫ
FIT
1:1
100%

Артикул

Название

Примечание

Количество

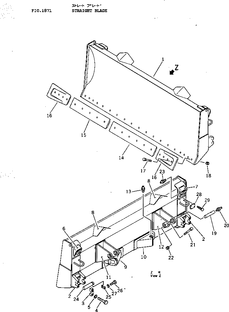
1

120-Y15-3101

BLADE ASS'Y

SN: 6001-UP

1шт.

2

120-Y20-3121

BRACKET (WELDED)

SN: 6001-UP

2шт.

3

120-Y20-3241

CAP

SN: 6001-UP

4шт.

4

01010-31655

BOLT

SN: 6001-UP

8шт.

5

01643-31645

WASHER

SN: 6001-UP

8шт.

6

120-Y20-3151

BRACKET,L.H. (WELDED)

SN: 6001-UP

1шт.

7

120-Y20-3161

BRACKET,R.H. (WELDED)

SN: 6001-UP

1шт.

8

12F-70-31231

COVER (WELDED)

SN: 6001-UP

2шт.

9

12F-70-31142

BRACKET,L.H. (WELDED)

SN: 6001-UP

1шт.

10

12F-70-31152

BRACKET,R.H. (WELDED)

SN: 6001-UP

1шт.

11

120-Y20-3142

BRACKET,L.H. (WELDED)

SN: 6001-UP

1шт.

12

120-Y20-3171

BRACKET,R.H. (WELDED)

SN: 6001-UP

1шт.

13

07020-00000

FITTING,GREASE

SN: 6001-UP

2шт.

14

12F-70-31261

EDGE,CUTTING

SN: 6001-UP

1шт.

15

12F-70-31251

EDGE,CUTTING

SN: 6001-UP

1шт.

16

120-70-31411

BIT,END

SN: 6001-UP

2шт.

17

02090-11055

BOLT

SN: 6001-UP

19шт.

18

02290-11016

NUT

SN: 6001-UP

19шт.

19

130-817-5461

SHAFT

SN: 6001-UP

2шт.

20

07020-00000

FITTING,GREASE

SN: 6001-UP

2шт.

21

01010-31080

BOLT

SN: 6001-UP

2шт.

22

01598-01011

NUT

SN: 6001-UP

2шт.

23

07020-00000

FITTING,GREASE

SN: 6001-UP

2шт.

24

12F-70-31321

PIN

SN: 6001-UP

2шт.

25

12F-70-31331

PLATE,LOCK

SN: 6001-UP

2шт.

26

01010-31225

BOLT

SN: 6001-UP

4шт.

27

01602-01236

WASHER,SPRING

SN: 6001-UP

4шт.

28

09601-00835

PLATE¤ NAME

SN: 6001-UP

1шт.

29

04418-13060

SCREW

SN: 6001-UP

4шт.

Выбрано товаров: 29