Запчасти Komatsu D41A-3 ОТВАЛ С ИЗМ. УГЛОМ ПОВОРОТА РАБОЧЕЕ ОБОРУДОВАНИЕ

Схема запчастей Komatsu D41A-3 - ОТВАЛ С ИЗМ. УГЛОМ ПОВОРОТА РАБОЧЕЕ ОБОРУДОВАНИЕ
FIT
1:1
100%

Артикул

Название

Примечание

Количество

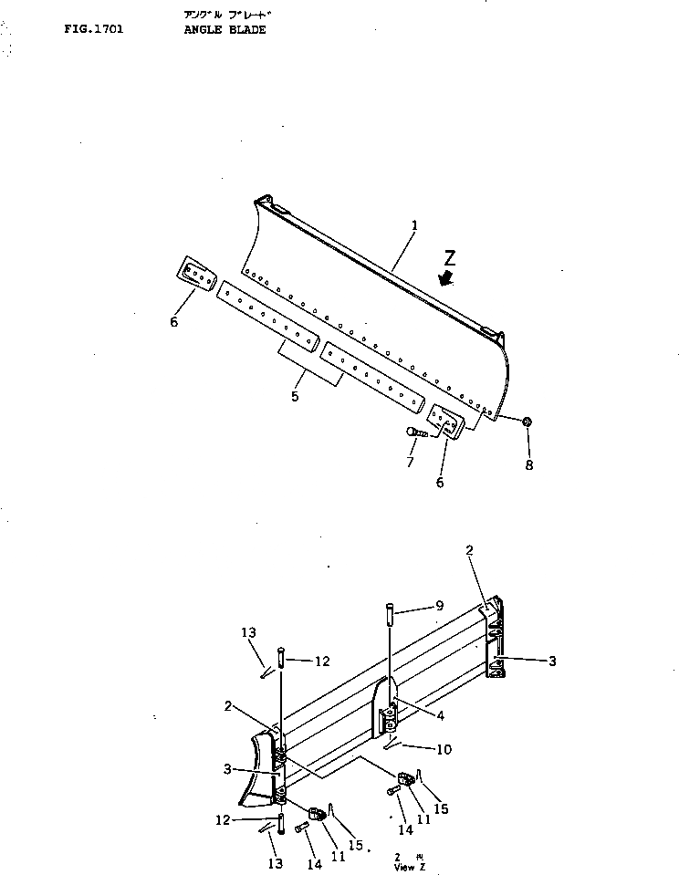
1

120-70-31101

BLADE

SN: 6001-UP

1шт.

2

12F-Z26-1160

BRACKET,L.H. (WELDED)

SN: 6001-UP

1шт.

|2

12F-Z26-1170

BRACKET,R.H. (WELDED)

SN: 6001-UP

1шт.

3

124-70-21140

BRACKET,L.H. (WELDED)

SN: 6001-UP

1шт.

|3

124-70-21150

BRACKET,R.H. (WELDED)

SN: 6001-UP

1шт.

4

12F-Z26-1120

BRACKET,CENTER (WELDED)

SN: 6001-UP

1шт.

5

12F-70-31281

EDGE,CUTTING

SN: 6001-UP

2шт.

6

120-70-31411

BIT,END

SN: 6001-UP

2шт.

7

02090-11060

BOLT

SN: 6001-UP

24шт.

8

02290-11016

NUT

SN: 6001-UP

24шт.

9

120-70-21210

PIN

SN: 6001-UP

1шт.

10

04050-08070

PIN,COTTER

SN: 6001-UP

1шт.

11

112-70-11221

JOINT

SN: 6001-UP

4шт.

12

112-70-11190

PIN

SN: 6001-UP

4шт.

13

04050-06050

PIN,COTTER

SN: 6001-UP

4шт.

14

112-70-11210

PIN

SN: 6001-UP

4шт.

15

04050-06050

PIN,COTTER

SN: 6001-UP

4шт.

Выбрано товаров: 17