Запчасти Komatsu D41A-3 С-ОБРАЗН. РАМА РАБОЧЕЕ ОБОРУДОВАНИЕ

Схема запчастей Komatsu D41A-3 - С-ОБРАЗН. РАМА РАБОЧЕЕ ОБОРУДОВАНИЕ
FIT
1:1
100%

Артикул

Название

Примечание

Количество

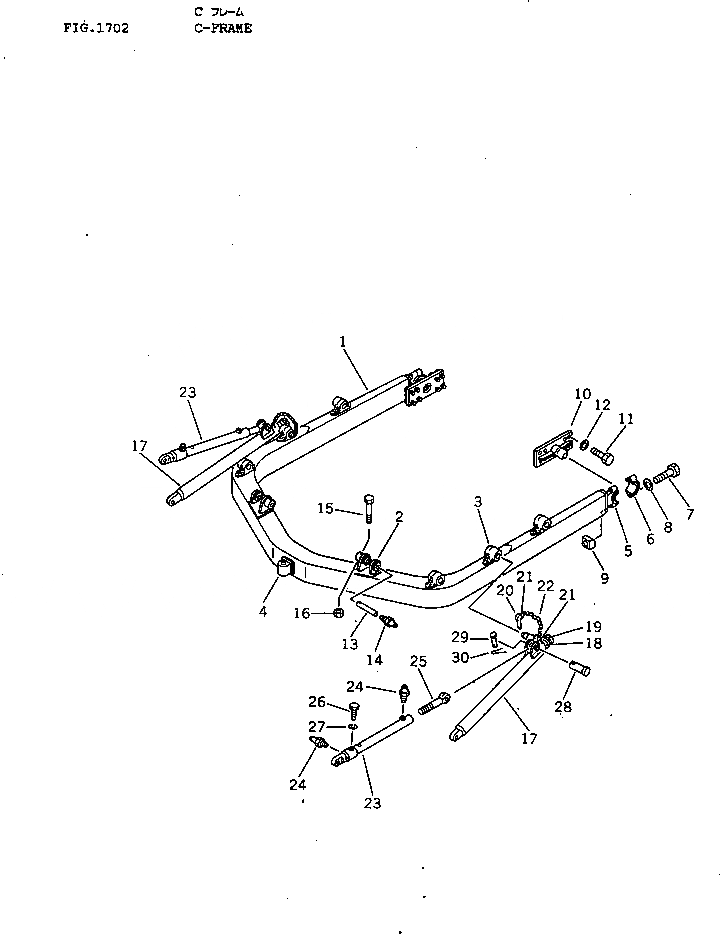
|1

120-70-00010

C-FRAME ASS'Y D40A¤ D41A

SN: 6001-UP

1шт.

|1

120-70-00020

C-FRAME ASS'Y D40AM

SN: 6001-UP

1шт.

1

0

C-FRAME D40A¤ D41A

SN: 6001-UP

1шт.

|1

0

C-FRAME D40AM

SN: 6001-UP

1шт.

2

120-70-31222

BRACKET,L.H. D40A¤ D41A (WELDED)

SN: 6001-UP

1шт.

|2

120-70-39121

BRACKET,L.H. D40AM (WELDED)

SN: 6001-UP

1шт.

|2

120-70-31232

BRACKET,R.H. D40A¤ D41A (WELDED)

SN: 6001-UP

1шт.

|2

120-70-39131

BRACKET,R.H. D40AM (WELDED)

SN: 6001-UP

1шт.

3

120-70-23210

BRACKET (WELDED)

SN: 6001-UP

6шт.

4

120-70-23250

SHAFT (WELDED)

SN: 6001-UP

1шт.

|5

130-70-00072

PIVOT ASS'Y

SN: 6001-UP

2шт.

5

0

PIVOT

SN: 6001-UP

1шт.

6

0

CAP

SN: 6001-UP

1шт.

7

01011-62445

BOLT

SN: 6001-UP

2шт.

8

01643-32460

WASHER

SN: 6001-UP

2шт.

9

130-70-13241

NUT

SN: 6001-UP

2шт.

10

124-B76-3311

TRUNNION

SN: 6001-UP

2шт.

11

01010-32055

BOLT

SN: 6001-UP

16шт.

12

01643-32060

WASHER

SN: 6001-UP

16шт.

13

130-817-5461

SHAFT

SN: 6001-UP

2шт.

14

07020-00000

FITTING,GREASE

SN: 6001-UP

2шт.

15

01010-31080

BOLT

SN: 6001-UP

2шт.

16

01598-01011

NUT

SN: 6001-UP

2шт.

17

120-70-22110

ARM,ANGLE D40A¤ D41A

SN: 6001-UP

2шт.

|17

120-70-39141

ARM,ANGLE D40AM

SN: 6001-UP

2шт.

18

130-70-12180

PIN

SN: 6001-UP

1шт.

19

120-70-22140

COLLAR

SN: 6001-UP

1шт.

20

130-70-12190

PIN,LOCK

SN: 6001-UP

1шт.

21

09245-50060

HOOK

SN: 6001-UP

2шт.

22

09245-04830

CHAIN

SN: 6001-UP

1шт.

|23

124-70-00020

BRACE ASS'Y D40A¤ D41A

SN: 6001-UP

2шт.

|23

120-70-00050

TILT BRACE ASS'Y D40AM

SN: 6001-UP

2шт.

23

124-70-21320

BRACE D40A¤ D41A

SN: 6001-UP

1шт.

|23

120-70-39151

BRACE D40AM

SN: 6001-UP

1шт.

24

07020-00000

FITTING,GREASE

SN: 6001-UP

2шт.

25

124-70-21310

SCREW

SN: 6001-UP

1шт.

26

130-70-52110

SCREW

SN: 6001-UP

1шт.

27

01602-01442

WASHER,SPRING

SN: 6001-UP

1шт.

28

130-70-12221

PIN

SN: 6001-UP

2шт.

29

130-70-12231

PIN

SN: 6001-UP

2шт.

30

04050-05030

PIN,COTTER

SN: 6001-UP

2шт.

Выбрано товаров: 41