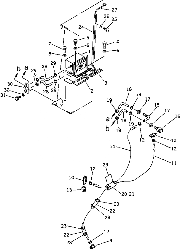
Запчасти Komatsu D41A-5 ОБОГРЕВАТЕЛЬ. И ТРУБЫ (ДЛЯ СТАЛЬНАЯ КАБИНА)(№9-) ЧАСТИ КОРПУСА

Схема запчастей Komatsu D41A-5 - ОБОГРЕВАТЕЛЬ. И ТРУБЫ (ДЛЯ СТАЛЬНАЯ КАБИНА)(№9-) ЧАСТИ КОРПУСА
FIT
1:1
100%

Артикул

Название

Примечание

Количество

1

144-Y11-1710

HEATER ASS'Y

SN: 10091-UP

1шт.

2

144-Y11-3310

BRACKET

SN: 10091-UP

1шт.

3

144-Y11-3331

FILTER

SN: 10170-UP

1шт.

|3

0

FILTER

SN: 10091-10169

1шт.

4

01010-50612

BOLT

SN: 10091-UP

1шт.

5

01010-50625

BOLT

SN: 10091-UP

1шт.

6

01643-30623

WASHER

SN: 10091-UP

2шт.

7

01010-51020

BOLT

SN: 10091-UP

4шт.

8

01643-31032

WASHER

SN: 10091-UP

4шт.

9

567-07-15221

NIPPLE

SN: 10091-UP

1шт.

10

09482-10000

VALVE

SN: 10091-UP

2шт.

11

09483-00517

HOSE

SN: 10091-UP

1шт.

12

07281-00289

CLAMP

SN: 10091-UP

4шт.

13

120-Y79-7170

ELBOW

SN: 10091-UP

1шт.

14

09483-00512

HOSE

SN: 10091-UP

1шт.

15

130-Y11-1130

TUBE

SN: 10091-UP

1шт.

16

130-Z79-1780

ELBOW

SN: 10091-UP

1шт.

17

135-60-22280

NUT

SN: 10091-UP

2шт.

18

09483-00505

HOSE

SN: 10091-UP

2шт.

19

07281-00289

CLAMP

SN: 10091-UP

4шт.

20

09489-01050

INSULATOR

SN: 10091-UP

1шт.

21

08024-01910

TAPE

SN: 10091-UP

1шт.

22

203-04-31230

COVER

SN: 10091-UP

5шт.

23

08034-00519

BAND

SN: 10091-UP

16шт.

24

144-Y11-3240

COVER

SN: 10091-UP

1шт.

25

01220-40508

SCREW

SN: 10091-UP

3шт.

26

01642-20508

WASHER

SN: 10091-UP

3шт.

27

144-Y11-3190

WIRE

SN: 10091-UP

1шт.

28

09483-10502

HOSE

SN: 10091-UP

2шт.

29

07281-00289

CLAMP

SN: 10091-UP

4шт.

30

144-Y11-3380

JOINT

SN: 10091-UP

1шт.

31

01010-50616

BOLT

SN: 10091-UP

2шт.

32

01643-30623

WASHER

SN: 10091-UP

2шт.

Выбрано товаров: 33