Запчасти Komatsu D41A-5 РЫЧАГ УПРАВЛЕНИЯ ОТВАЛОМ (/) (С СТАЛЬНАЯ КАБИНА)(№7-) УПРАВЛ-Е РАБОЧИМ ОБОРУДОВАНИЕМ

Схема запчастей Komatsu D41A-5 - РЫЧАГ УПРАВЛЕНИЯ ОТВАЛОМ (/) (С СТАЛЬНАЯ КАБИНА)(№7-) УПРАВЛ-Е РАБОЧИМ ОБОРУДОВАНИЕМ
FIT
1:1
100%

Артикул

Название

Примечание

Количество

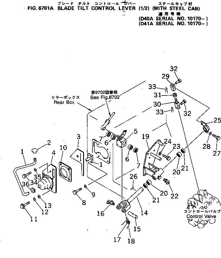
1

120-43-47170

LEVER

SN: 10091-UP

1шт.

|1

120-43-37172

LEVER

SN: 10001-10090

1шт.

2

09304-01250

KNOB

SN: 10001-UP

1шт.

3

144-Y11-3911

SHEET

SN: 10170-UP

1шт.

4

144-Y11-3930

BELLOWS

SN: 10170-UP

1шт.

5

120-43-37272

LEVER

SN: 10001-UP

1шт.

6

06120-01612

BEARING,NEEDLE

SN: 10001-UP

2шт.

7

06122-01603

SEAL,BEARING

SN: 10001-UP

2шт.

8

01010-50620

BOLT

SN: 10001-UP

4шт.

9

01602-20619

WASHER,SPRING

SN: 10001-UP

4шт.

10

144-43-81650

COVER

SN: 10170-UP

1шт.

11

01439-00820

BOLT

SN: 10170-UP

1шт.

12

01602-20825

WASHER,SPRING

SN: 10001-UP

4шт.

13

01640-20816

WASHER

SN: 10001-UP

4шт.

14

120-43-37193

SHAFT

SN: 10001-UP

1шт.

15

135-43-11171

SHAFT

SN: 10001-UP

1шт.

16

07020-00900

FITTING,GREASE

SN: 10001-UP

1шт.

17

01306-00616

SCREW

SN: 10001-UP

1шт.

18

04059-01012

WIRE,LOCK

SN: 10001-UP

1шт.

19

120-43-47550

BRACKET

SN: 10091-UP

1шт.

|19

120-43-37551

BRACKET

SN: 10001-10090

1шт.

20

06120-02016

BEARING,NEEDLE

SN: 10001-UP

2шт.

21

06122-02004

SEAL,BEARING

SN: 10001-UP

2шт.

22

07020-00900

FITTING,GREASE

SN: 10001-UP

1шт.

23

01010-51025

BOLT

SN: 10001-UP

4шт.

24

01602-21030

WASHER,SPRING

SN: 10001-UP

4шт.

25

120-43-37361

LEVER

SN: 10001-UP

1шт.

26

04010-00519

KEY

SN: 10001-UP

1шт.

27

01010-50830

BOLT

SN: 10001-UP

1шт.

28

01602-20825

WASHER,SPRING

SN: 10001-UP

1шт.

29

04210-20832

YOKE

SN: 10001-UP

1шт.

30

04244-40805

ROD

SN: 10001-UP

1шт.

31

01580-10806

NUT

SN: 10001-UP

1шт.

32

04205-10825

PIN

SN: 10001-UP

2шт.

33

04050-12018

PIN,COTTER

SN: 10001-UP

2шт.

34

01010-50825

BOLT

SN: 10170-UP

1шт.

35

01643-30823

WASHER

SN: 10170-UP

1шт.

36

07281-00197

CLAMP

SN: 10170-UP

1шт.

Выбрано товаров: 38