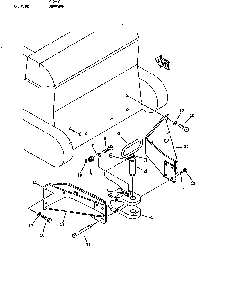
Запчасти Komatsu D41A-5 СЦЕПНОЕ УСТРОЙСТВО РАБОЧЕЕ ОБОРУДОВАНИЕ

Схема запчастей Komatsu D41A-5 - СЦЕПНОЕ УСТРОЙСТВО РАБОЧЕЕ ОБОРУДОВАНИЕ
FIT
1:1
100%

Артикул

Название

Примечание

Количество

|1

134-69-00020

DRAWBAR ASS'Y

SN: 10001-UP

1шт.

|1

144-69-11170

DRAWBAR ASS'Y

SN: 10001-UP

1шт.

1

144-69-11130

DRAWBAR

SN: 10001-UP

1шт.

2

144-69-11210

HANDLE

SN: 10001-UP

1шт.

3

144-69-11230

PLATE

SN: 10001-UP

1шт.

4

09247-45180

PIN

SN: 10001-UP

1шт.

5

09245-50060

HOOK (WELDED)

SN: 10001-UP

1шт.

6

09245-04830

CHAIN

SN: 10001-UP

1шт.

7

09249-00016

LATCH

SN: 10001-UP

1шт.

8

01052-51260

BOLT

SN: 10001-UP

1шт.

9

01592-11215

NUT

SN: 10001-UP

1шт.

10

04050-03025

PIN

SN: 10001-UP

1шт.

11

144-69-11161

BOLT

SN: 10001-UP

4шт.

12

01643-32460

WASHER

SN: 10001-UP

4шт.

13

01580-12419

NUT

SN: 10001-UP

4шт.

14

134-69-13120

BRACKET,L.H.

SN: 10001-UP

1шт.

15

134-69-13110

BRACKET,R.H.

SN: 10001-UP

1шт.

16

01010-82480

BOLT

SN: 10001-UP

6шт.

17

01643-32460

WASHER

SN: 10001-UP

6шт.

Выбрано товаров: 19