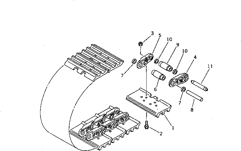
Запчасти Komatsu D41A-5 ГУСЕНИЦЫ (СО СЦЕПНЫМ ПАЛЬЦЕМ) (ТРОЙНОЙ ГРУНТОЗАЦЕП.)(№-) ГУСЕНИЦЫ

Схема запчастей Komatsu D41A-5 - ГУСЕНИЦЫ (СО СЦЕПНЫМ ПАЛЬЦЕМ) (ТРОЙНОЙ ГРУНТОЗАЦЕП.)(№-) ГУСЕНИЦЫ
FIT
1:1
100%

Артикул

Название

Примечание

Количество

|$$1

400MM WIDE

-1шт.

|1

125-32-01208

TRACK SHOE ASS'Y

SN: 10162-10210

1шт.

|1

0

TRACK SHOE ASS'Y

SN: .-10161

1шт.

|1

0

TRACK SHOE ASS'Y

SN: 10001-.

1шт.

1

131-32-11316

SHOE,TRACK

SN: 10001-10210

74шт.

2

205-32-51121

BOLT¤ SHOE (KIT)

SN: 10162-10210

296шт.

|2

205-32-51120

BOLT¤ SHOE (KIT)

SN: 10001-10161

296шт.

3

203-32-51220

NUT,SHOE (KIT)

SN: 10162-10210

296шт.

|3

01803-01622

NUT¤ SHOE (KIT)

SN: 10001-10161

296шт.

|4

125-32-00012

TRACK LINK ASS'Y

SN: .-10210

1шт.

|4

0

TRACK LINK ASS'Y

SN: 10001-.

1шт.

4

130-32-11126

LINK,TRACK¤ L.H.

SN: 10001-10210

74шт.

5

130-32-11136

LINK,TRACK¤ R.H.

SN: 10001-10210

74шт.

6

130-32-11146

BUSHING,REGULAR

SN: .-10210

70шт.

|6

0

BUSHING,REGULAR

SN: 10001-.

70шт.

7

135-32-11271

SEAL,DUST¤ REGULAR¤ W-TYPE

SN: 10001-10210

140шт.

8

205-32-51152

PIN¤ REGULAR

SN: 10001-10210

70шт.

9

130-32-11174

BUSHING,MASTER

SN: .-10210

4шт.

|9

0

BUSHING¤ MASTER

SN: 10001-.

4шт.

10

135-32-11381

SEAL,DUST¤ MASTER¤ W-TYPE

SN: 10001-10210

8шт.

11

205-32-21192

PIN¤ MASTER

SN: 10001-10210

4шт.

|$$22

SERVICE KIT

-1шт.

|1

205-32-05011

SHOE BOLT AND NUT K.

SN: 10162-10210

1шт.

|1

0

SHOE BOLT AND NUT K.

SN: 10001-10161

1шт.

1

205-32-51121

BOLT¤ SHOE

SN: 10162-10210

50шт.

|1

205-32-51120

BOLT¤ SHOE

SN: 10001-10161

50шт.

2

203-32-51220

NUT,SHOE

SN: 10162-10210

50шт.

|2

01803-01622

NUT¤ SHOE

SN: 10001-10161

50шт.

|$$29

OVERSIZE PARTS

-1шт.

|$$30

SELECT AS REQUIRED NOT NECESSARY TO USE ALL OF THE OVERSIZE PARTS.

-1шт.

|$$31

0.10MM OVERSIZE

-1шт.

6

130-98-09115

BUSHING¤ REGULAR

SN: .-10210

-2шт.

|6

0

BUSHING¤ REGULAR

SN: 10001-.

-2шт.

8

205-98-09012

PIN¤ REGULAR

SN: 10001-10210

-2шт.

9

130-98-09144

BUSHING¤ MASTER

SN: .-10210

-2шт.

|9

0

BUSHING¤ MASTER

SN: 10001-.

-2шт.

11

205-98-09042

PIN¤ MASTER

SN: 10001-10210

-2шт.

|$$38

0.18MM OVERSIZE

-1шт.

6

130-98-09135

BUSHING¤ REGULAR

SN: .-10210

-2шт.

|6

0

BUSHING¤ REGULAR

SN: 10001-.

-2шт.

8

205-98-09032

PIN¤ REGULAR

SN: 10001-10210

-2шт.

9

130-98-09164

BUSHING¤ MASTER

SN: .-10210

-2шт.

|9

0

BUSHING¤ MASTER

SN: 10001-.

-2шт.

11

205-98-09062

PIN¤ MASTER

SN: 10001-10210

-2шт.

Выбрано товаров: 0