Запчасти Komatsu D41E-3 РЫЧАГ УПРАВЛ-Я ТРАНСМИССИЕЙ ОСНОВН. МУФТА И ТРАНСМИССИЯ

Схема запчастей Komatsu D41E-3 - РЫЧАГ УПРАВЛ-Я ТРАНСМИССИЕЙ ОСНОВН. МУФТА И ТРАНСМИССИЯ
FIT
1:1
100%

Артикул

Название

Примечание

Количество

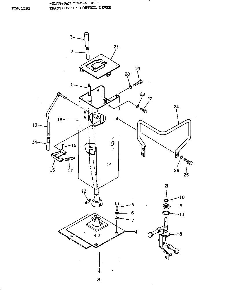
1

125-43-35111

LEVER

SN: 6001-UP

1шт.

2

09361-01460

BUSHING

SN: 6001-UP

1шт.

3

09304-01240

KNOB

SN: 6001-UP

1шт.

4

124-43-36212

BRACKET

SN: 6001-UP

1шт.

5

01010-31225

BOLT

SN: 6001-UP

3шт.

6

01602-01236

WASHER,SPRING

SN: 6001-UP

3шт.

7

01643-31232

WASHER

SN: 6001-UP

3шт.

8

125-43-35131

SHAFT

SN: 6001-UP

1шт.

9

134-43-25142

BUSHING

SN: 6001-UP

1шт.

10

04064-02012

RING,SNAP

SN: 6001-UP

1шт.

11

04065-03715

RING,SNAP

SN: 6001-UP

1шт.

12

04025-00532

PIN,SPRING

SN: 6001-UP

1шт.

13

125-43-35261

LEVER

SN: 6001-UP

1шт.

14

09305-00800

KNOB

SN: 6001-UP

1шт.

15

124-43-36281

STOPPER

SN: 6001-UP

1шт.

16

04025-00316

PIN,SPRING

SN: 6001-UP

1шт.

17

113-43-11280

SPRING

SN: 6001-UP

1шт.

18

124-54-32211

BOX

SN: 6001-UP

1шт.

19

01010-31225

BOLT

SN: 6001-UP

4шт.

20

01602-01236

WASHER,SPRING

SN: 6001-UP

4шт.

21

124-54-32222

GUIDE

SN: 6001-UP

1шт.

22

01010-31016

BOLT

SN: 6001-UP

3шт.

23

01602-01030

WASHER,SPRING

SN: 6001-UP

3шт.

24

124-54-32241

HANDLE

SN: 6001-UP

1шт.

25

01010-31220

BOLT

SN: 6001-UP

3шт.

26

01602-01236

WASHER,SPRING

SN: 6001-UP

3шт.

Выбрано товаров: 26