Запчасти Komatsu D41E-3 КОРПУС БЛОКА УПРАВЛЕНИЯ ПОВОРОТОМ И ОСНОВНАЯ РАМА (ДЛЯ НАРУЖН. ПОВОРОТН. ОТВАЛ С ИЗМ. УГЛОМ DOZER) СИСТЕМАУПРАВЛЕНИЯ ПОВОРОТОМ И КОНЕЧНАЯ ПЕРЕДАЧА

Схема запчастей Komatsu D41E-3 - КОРПУС БЛОКА УПРАВЛЕНИЯ ПОВОРОТОМ И ОСНОВНАЯ РАМА (ДЛЯ НАРУЖН. ПОВОРОТН. ОТВАЛ С ИЗМ. УГЛОМ DOZER) СИСТЕМАУПРАВЛЕНИЯ ПОВОРОТОМ И КОНЕЧНАЯ ПЕРЕДАЧА
FIT
1:1
100%

Артикул

Название

Примечание

Количество

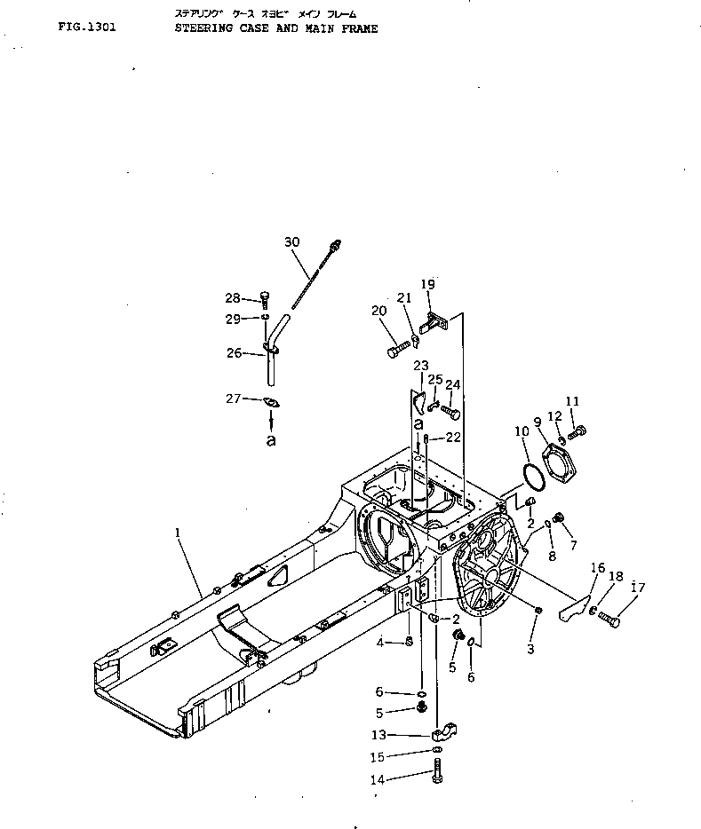
1

120-Y16-3921

FRAME

SN: 6001-UP

1шт.

1

120-21-31360

BUSHING (WELDED)

SN: 6001-UP

2шт.

2

07049-02430

PLUG

SN: 6001-UP

20шт.

3

131-21-41520

PLUG

SN: 6001-UP

4шт.

4

07049-02025

PLUG

SN: 6001-UP

4шт.

5

07044-13620

PLUG

SN: 6001-UP

3шт.

6

07002-03634

O-RING

SN: 6001-UP

3шт.

7

07040-13016

PLUG

SN: 6001-UP

2шт.

8

07002-03034

O-RING

SN: 6001-UP

2шт.

9

131-21-41222

COVER

SN: 6001-UP

1шт.

10

07000-05185

O-RING

SN: 6001-UP

1шт.

11

01010-51430

BOLT

SN: 6001-UP

6шт.

12

01602-21442

WASHER,SPRING

SN: 6001-UP

6шт.

13

120-21-31381

CAP

SN: 6001-UP

4шт.

14

01010-52280

BOLT

SN: 6001-UP

8шт.

15

01643-32260

WASHER

SN: 6001-UP

8шт.

16

120-21-31220

COVER

SN: 6001-UP

2шт.

17

01010-51425

BOLT

SN: 6001-UP

4шт.

18

01602-21442

WASHER,SPRING

SN: 6001-UP

4шт.

19

120-21-31241

BRACKET

SN: 6001-UP

2шт.

20

01010-51230

BOLT

SN: 6001-UP

4шт.

21

01650-21212

WASHER

SN: 6001-UP

4шт.

22

113-21-22190

PIN

SN: 6001-UP

2шт.

23

120-21-31391

PLATE

SN: 6001-UP

2шт.

24

01010-51016

BOLT

SN: 6001-UP

4шт.

25

113-21-22160

LOCK

SN: 6001-UP

2шт.

26

120-21-31283

FILLER

SN: 6001-UP

1шт.

27

120-21-31262

GASKET

SN: 6001-UP

1шт.

28

01010-51025

BOLT

SN: 6001-UP

2шт.

29

01602-21030

WASHER,SPRING

SN: 6001-UP

2шт.

30

120-21-31292

GAUGE,OIL LEVEL

SN: 6001-UP

1шт.

Выбрано товаров: 0