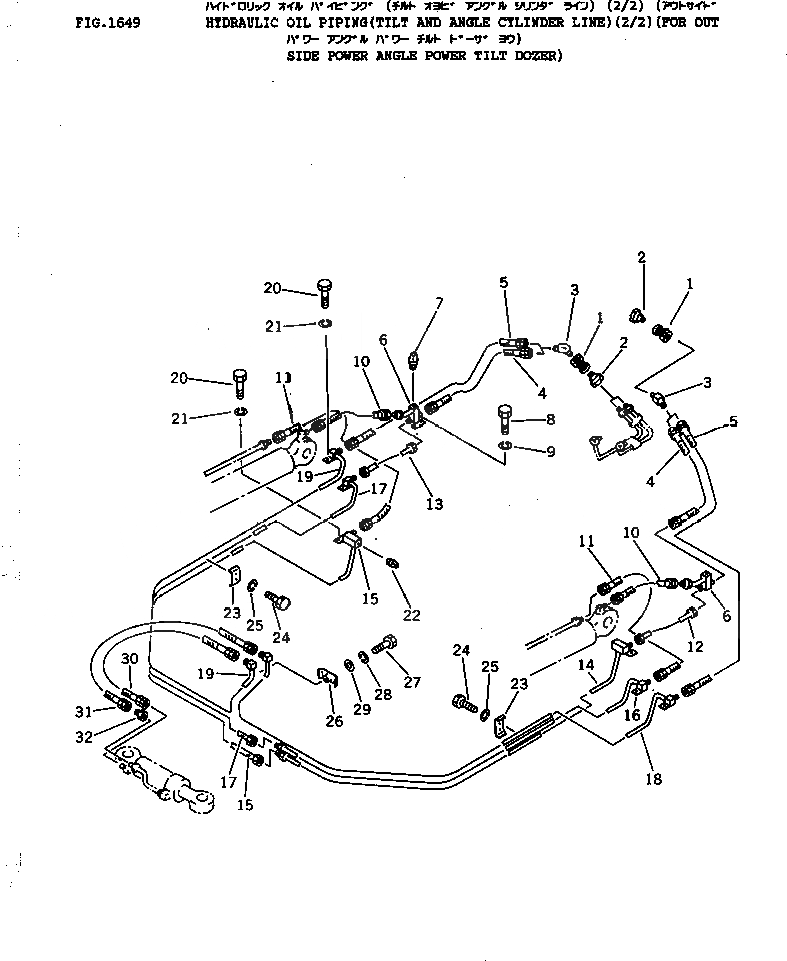
Запчасти Komatsu D41E-3 ГИДРАВЛ МАСЛОПРОВОДЯЩАЯ ЛИНИЯ(НАКЛОН. И ЦИЛИНДР НАКЛОНА ЛИНИЯ)(/)(ДЛЯ OUTПОВОРОТН. ОТВАЛ С ИЗМ. УГЛОМ DOZER) УПРАВЛ-Е РАБОЧИМ ОБОРУДОВАНИЕМ

Схема запчастей Komatsu D41E-3 - ГИДРАВЛ МАСЛОПРОВОДЯЩАЯ ЛИНИЯ(НАКЛОН. И ЦИЛИНДР НАКЛОНА ЛИНИЯ)(/)(ДЛЯ OUT ПОВОРОТН. ОТВАЛ С ИЗМ. УГЛОМ DOZER) УПРАВЛ-Е РАБОЧИМ ОБОРУДОВАНИЕМ
FIT
1:1
100%

Артикул

Название

Примечание

Количество

1

10E-60-16340

COUPLING

SN: 6001-UP

4шт.

2

10E-60-16350

COUPLING

SN: 6001-UP

4шт.

3

120-Y46-3931

ELBOW

SN: 6001-UP

4шт.

4

07121-40308

HOSE

SN: 6009-UP

2шт.

4

07121-40309

HOSE

SN: 6001-6008

2шт.

5

07121-40315

HOSE

SN: 6009-UP

2шт.

5

07121-40317

HOSE

SN: 6001-6008

2шт.

6

120-Y46-4111

BLOCK,L.H.

SN: 6001-UP

1шт.

6

120-Y46-4121

BLOCK,R.H.

SN: 6001-UP

1шт.

7

07042-00108

PLUG

SN: 6001-UP

2шт.

8

01010-51225

BOLT

SN: 6001-UP

4шт.

9

01602-21236

WASHER,SPRING

SN: 6001-UP

4шт.

10

07121-40304

HOSE

SN: 6001-UP

2шт.

11

07121-40307

HOSE

SN: 6001-UP

2шт.

12

120-Y46-4131

TUBE

SN: 6001-UP

1шт.

13

120-Y46-4141

TUBE

SN: 6001-UP

1шт.

14

120-Y46-4151

TUBE

SN: 6001-UP

1шт.

15

120-Y46-4181

TUBE

SN: 6001-UP

1шт.

16

120-Y46-4211

TUBE

SN: 6001-UP

1шт.

17

120-Y46-4171

TUBE

SN: 6001-UP

1шт.

18

120-Y46-4221

TUBE

SN: 6001-UP

1шт.

19

120-Y46-4231

TUBE

SN: 6001-UP

1шт.

20

01010-51225

BOLT

SN: 6001-UP

6шт.

21

01602-21236

WASHER,SPRING

SN: 6001-UP

6шт.

22

07042-20108

PLUG

SN: 6001-UP

2шт.

23

120-Y46-4241

CLIP

SN: 6001-UP

10шт.

24

01010-50820

BOLT

SN: 6001-UP

20шт.

25

01602-20825

WASHER,SPRING

SN: 6001-UP

20шт.

26

114-62-23150

CLIP

SN: 6001-UP

1шт.

27

01010-51235

BOLT

SN: 6001-UP

1шт.

28

01602-21236

WASHER,SPRING

SN: 6001-UP

1шт.

29

01643-31232

WASHER

SN: 6001-UP

1шт.

30

07121-40310

HOSE

SN: 6001-UP

1шт.

31

07121-40311

HOSE

SN: 6001-UP

1шт.

32

10G-Z16-2310

NIPPLE

SN: 6001-UP

1шт.

Выбрано товаров: 0