Запчасти Komatsu D41E-3 ОТВАЛ (ДЛЯ ПРЯМОГО ОТВАЛА) РАБОЧЕЕ ОБОРУДОВАНИЕ

Схема запчастей Komatsu D41E-3 - ОТВАЛ (ДЛЯ ПРЯМОГО ОТВАЛА) РАБОЧЕЕ ОБОРУДОВАНИЕ
FIT
1:1
100%

Артикул

Название

Примечание

Количество

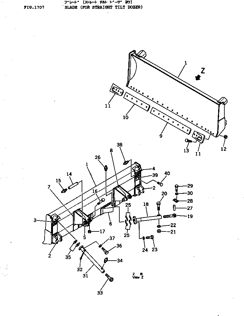
1

124-B76-3101

BLADE ASS'Y

SN: 6001-UP

1шт.

2

120-Y20-3121

BRACKET

SN: 6001-UP

2шт.

3

12F-70-31161

BRACKET

SN: 6001-UP

1шт.

4

12F-70-31311

BRACKET

SN: 6001-UP

1шт.

5

12F-70-31142

BRACKET

SN: 6001-UP

1шт.

6

12F-70-31152

BRACKET

SN: 6001-UP

1шт.

7

124-B76-3122

BRACKET,L.H.

SN: 6001-UP

1шт.

8

124-B76-3131

BRACKET,R.H.

SN: 6001-UP

1шт.

9

12F-70-31281

EDGE,CUTTING

SN: 6001-UP

1шт.

10

12F-70-31251

EDGE,CUTTING

SN: 6001-UP

1шт.

11

120-70-31411

BIT,END

SN: 6001-UP

2шт.

12

02290-11016

NUT

SN: 6001-UP

21шт.

13

02090-11055

BOLT

SN: 6001-UP

21шт.

14

130-817-5461

SHAFT

SN: 6001-UP

2шт.

15

07020-00000

FITTING,GREASE

SN: 6001-UP

2шт.

16

01010-31080

BOLT

SN: 6001-UP

2шт.

17

01598-01011

NUT

SN: 6001-UP

2шт.

|$17

12F-70-00051

BRACE ASS'Y

SN: 6001-UP

2шт.

18

12F-70-21210

BRACE

SN: 6001-UP

1шт.

19

12F-70-11260

SCREW

SN: 6001-UP

1шт.

20

01011-32000

BOLT

SN: 6001-UP

1шт.

21

01580-12016

NUT

SN: 6001-UP

1шт.

22

01643-32060

WASHER

SN: 6001-UP

1шт.

23

01010-31865

BOLT

SN: 6001-UP

8шт.

24

01643-31845

WASHER

SN: 6001-UP

8шт.

25

144-817-0620

SHIM ASS'Y

SN: 6001-UP

2шт.

25

144-817-2250

SHIM, 1.0MM

SN: 6001-UP

8шт.

25

144-817-2260

SHIM, 0.5MM

SN: 6001-UP

6шт.

26

07020-00000

FITTING,GREASE

SN: 6001-UP

2шт.

27

12F-70-11350

PIN

SN: 6001-UP

4шт.

28

04082-00212

LOCK

SN: 6001-UP

4шт.

29

01010-31225

BOLT

SN: 6001-UP

8шт.

30

01602-01236

WASHER,SPRING

SN: 6001-UP

8шт.

|$33

12F-70-00041

BRACE ASS'Y

SN: 6001-UP

2шт.

31

12F-70-21330

BRACE

SN: 6001-UP

1шт.

32

101-71-12250

LEVER

SN: 6001-UP

1шт.

33

12F-70-11260

SCREW

SN: 6001-UP

1шт.

34

07020-00000

FITTING,GREASE

SN: 6001-UP

1шт.

35

112-71-00070

SHIM ASS'Y

SN: 6001-UP

2шт.

35

112-71-11271

SHIM, 1.0MM

SN: 6001-UP

4шт.

35

112-71-11281

SHIM, 0.5MM

SN: 6001-UP

4шт.

36

01010-31650

BOLT

SN: 6001-UP

8шт.

37

01643-31645

WASHER

SN: 6001-UP

8шт.

38

07020-00000

FITTING,GREASE

SN: 6001-UP

2шт.

39

09601-00835

PLATE, NAME

SN: 6001-UP

1шт.

40

04418-13060

SCREW

SN: 6001-UP

4шт.

Выбрано товаров: 0