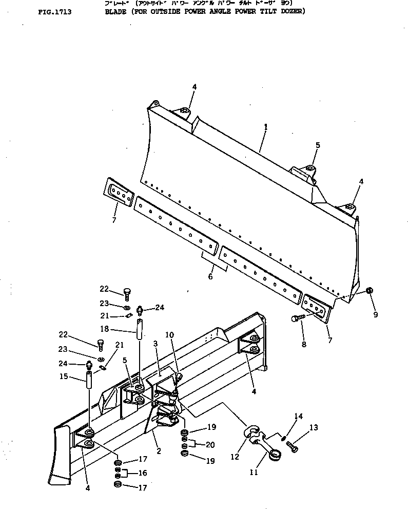
Запчасти Komatsu D41E-3 ОТВАЛ (ДЛЯ НАРУЖН. ПОВОРОТН. ОТВАЛ С ИЗМ. УГЛОМ DOZER) РАБОЧЕЕ ОБОРУДОВАНИЕ

Схема запчастей Komatsu D41E-3 - ОТВАЛ (ДЛЯ НАРУЖН. ПОВОРОТН. ОТВАЛ С ИЗМ. УГЛОМ DOZER) РАБОЧЕЕ ОБОРУДОВАНИЕ
FIT
1:1
100%

Артикул

Название

Примечание

Количество

1

120-Y46-3102

BLADE D41E-3

SN: 6001-UP

1шт.

1

124-70-33100

BLADE D41E-3A

SN: 6001-UP

1шт.

2

120-Y46-3121

BRACKET (WELDED)

SN: 6001-UP

1шт.

3

120-Y46-3131

BRACKET,D41E-3 (WELDED)

SN: 6001-UP

1шт.

3

124-70-33120

BRACKET,D41E-3A (WELDED)

SN: 6001-UP

1шт.

4

120-Y46-3141

BRACKET,D41E-3 (WELDED)

SN: 6001-UP

2шт.

4

124-70-33130

BRACKET,D41E-3A (WELDED)

SN: 6001-UP

2шт.

5

120-Y46-3151

BRACKET (WELDED)

SN: 6001-UP

1шт.

6

12F-70-31281

EDGE,CUTTING

SN: 6001-UP

2шт.

7

120-70-31411

BIT,END

SN: 6001-UP

2шт.

8

02090-11055

BOLT

SN: 6001-UP

24шт.

9

02290-11016

NUT

SN: 6001-UP

24шт.

10

07020-00675

FITTING,GREASE

SN: 6001-UP

2шт.

|$13

120-Y46-0030

ROD ASS'Y

SN: 6001-UP

1шт.

11

120-Y46-3352

ROD

SN: 6001-UP

1шт.

12

120-Y46-5521

CAP

SN: 6001-UP

1шт.

13

01010-52490

BOLT

SN: 6001-UP

2шт.

14

01643-32460

WASHER

SN: 6001-UP

2шт.

15

124-Z46-1270

PIN

SN: 6001-UP

2шт.

16

120-Y46-5321

COLLAR

SN: 6001-UP

4шт.

17

120-Y46-5350

BUSHING

SN: 6001-UP

4шт.

18

09241-50210

PIN

SN: 6001-UP

1шт.

19

124-Z46-1330

BUSHING

SN: 6001-UP

2шт.

20

124-Z46-1340

COLLAR

SN: 6001-UP

2шт.

21

04082-00212

LOCK

SN: 6001-UP

3шт.

22

01010-51225

BOLT

SN: 6001-UP

6шт.

23

01602-21236

WASHER,SPRING

SN: 6001-UP

6шт.

24

07020-00000

FITTING,GREASE

SN: 6001-UP

3шт.

Выбрано товаров: 0