Запчасти Komatsu D41E-3 УПРАВЛ-Е ТРАНСМИССИЕЙ МЕХАНИЗМ ОСНОВН. МУФТА И ТРАНСМИССИЯ

Схема запчастей Komatsu D41E-3 - УПРАВЛ-Е ТРАНСМИССИЕЙ МЕХАНИЗМ ОСНОВН. МУФТА И ТРАНСМИССИЯ
FIT
1:1
100%

Артикул

Название

Примечание

Количество

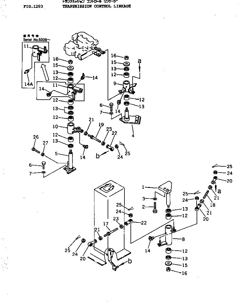
1

124-43-36222

SHAFT

SN: 6001-UP

1шт.

2

01010-31240

BOLT

SN: 6001-UP

2шт.

3

01602-01236

WASHER,SPRING

SN: 6001-UP

2шт.

4

124-43-36231

SHAFT

SN: 6001-UP

1шт.

5

124-43-36252

SHAFT

SN: 6001-UP

1шт.

6

01010-31025

BOLT

SN: 6001-UP

4шт.

7

01602-01030

WASHER,SPRING

SN: 6001-UP

4шт.

8

124-43-38281

LEVER

SN: 6001-UP

1шт.

9

124-43-36241

LEVER

SN: 6001-UP

1шт.

10

124-43-36261

LEVER

SN: 6001-UP

1шт.

11

124-43-36312

LEVER

SN: 6009-UP

1шт.

11

124-43-36311

LEVER

SN: 6001-6008

1шт.

12

06120-02520

BEARING,NEEDLE

SN: 6001-UP

8шт.

13

06122-02504

SEAL,BEARING

SN: 6001-UP

8шт.

14

07020-00900

FITTING,GREASE

SN: 6009-UP

3шт.

14

07020-00900

FITTING,GREASE

SN: 6001-6008

4шт.

14A

07020-00000

FITTING,GREASE

SN: 6009-UP

1шт.

15

141-60-14350

PLATE

SN: 6001-UP

3шт.

16

01598-01214

NUT

SN: 6001-UP

3шт.

17

04248-31009

ROD

SN: 6001-UP

1шт.

18

131-901-1331

ROD

SN: 6001-UP

1шт.

19

04248-31011

ROD

SN: 6001-UP

1шт.

20

04250-41056

END

SN: 6009-UP

2шт.

20

04250-41056

END

SN: 6001-6008

3шт.

21

01582-11008

NUT

SN: 6001-UP

4шт.

22

04250-71056

END

SN: 6009-UP

3шт.

22

04250-71056

END

SN: 6001-6008

2шт.

23

01508-11006

NUT

SN: 6001-UP

2шт.

24

01593-11008

NUT

SN: 6009-UP

6шт.

24

01593-11008

NUT

SN: 6001-6008

5шт.

25

04050-02018

PIN,COTTER

SN: 6009-UP

6шт.

25

04050-02018

PIN,COTTER

SN: 6001-6008

5шт.

26

01016-30835

BOLT

SN: 6001-UP

1шт.

27

01580-10806

NUT

SN: 6001-UP

1шт.

Выбрано товаров: 34