Запчасти Komatsu D41E-3 ПРУЖИНА ГУСЕНИЦЫ

Схема запчастей Komatsu D41E-3 - ПРУЖИНА ГУСЕНИЦЫ
FIT
1:1
100%

Артикул

Название

Примечание

Количество

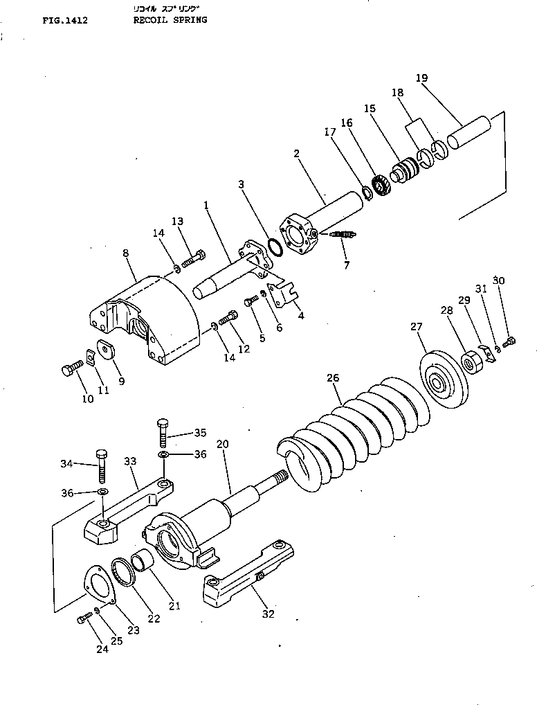
1

120-30-37311

ROD

SN: 6001-UP

2шт.

2

125-30-21270

CYLINDER

SN: 6001-UP

2шт.

3

07000-15058

O-RING

SN: 6001-UP

2шт.

4

120-30-33231

BRACKET

SN: 6001-UP

2шт.

5

01010-31235

BOLT

SN: 6001-UP

12шт.

6

01602-01236

WASHER,SPRING

SN: 6001-UP

12шт.

7

07959-20000

VALVE

SN: 6001-UP

2шт.

8

124-30-22340

YOKE ASS'Y

SN: 6001-UP

1шт.

8

124-30-22330

YOKE ASS'Y

SN: 6001-UP

1шт.

9

141-30-14130

WASHER

SN: 6001-UP

2шт.

10

01010-31840

BOLT

SN: 6001-UP

2шт.

11

141-30-14140

PLATE

SN: 6001-UP

2шт.

12

01010-31450

BOLT

SN: 6001-UP

4шт.

13

01010-31475

BOLT

SN: 6001-UP

8шт.

14

01602-01442

WASHER,SPRING

SN: 6001-UP

12шт.

15

125-30-14170

PISTON

SN: 6001-UP

2шт.

16

09370-00060

U-PACKING

SN: 6001-UP

2шт.

17

04064-03515

RING,SNAP

SN: 6001-UP

2шт.

18

07155-00615

RING,WEAR

SN: 6001-UP

4шт.

19

125-30-14160

COLLAR

SN: 6001-UP

2шт.

|$20

125-30-00020

BOLT ASS'Y

SN: 6001-UP

2шт.

20

0

BOLT

SN: 6001-UP

1шт.

21

07177-08040

BUSHING

SN: 6001-UP

1шт.

22

145-30-31320

SEAL,DUST

SN: 6001-UP

1шт.

23

125-30-14190

COVER

SN: 6001-UP

2шт.

24

01010-31020

BOLT

SN: 6001-UP

6шт.

25

01602-01030

WASHER,SPRING

SN: 6001-UP

6шт.

26

125-30-21510

SPRING

SN: 6001-UP

2шт.

27

125-30-14150

PILOT

SN: 6001-UP

2шт.

28

01580-13326

NUT

SN: 6001-UP

2шт.

29

141-30-14350

PLATE

SN: 6001-UP

2шт.

30

01010-31016

BOLT

SN: 6001-UP

2шт.

31

01602-01030

WASHER,SPRING

SN: 6001-UP

2шт.

32

12F-30-12270

BRACKET

SN: 6001-UP

2шт.

33

12F-30-12280

BRACKET

SN: 6001-UP

2шт.

34

01010-31885

BOLT

SN: 6001-UP

4шт.

35

01010-31860

BOLT

SN: 6001-UP

4шт.

36

01643-21845

WASHER

SN: 6001-UP

8шт.

Выбрано товаров: 0