Запчасти Komatsu D41E-3A ГИДРАВЛ МАСЛОПРОВОДЯЩАЯ ЛИНИЯ (ИЗ БАКА В НАСОС - КЛАПАН) (ДЛЯ НАРУЖН. POWER ANGLE НАКЛОНЯЕМ. DOZER) УПРАВЛ-Е РАБОЧИМ ОБОРУДОВАНИЕМ

Схема запчастей Komatsu D41E-3A - ГИДРАВЛ МАСЛОПРОВОДЯЩАЯ ЛИНИЯ (ИЗ БАКА В НАСОС - КЛАПАН) (ДЛЯ НАРУЖН. POWER ANGLE НАКЛОНЯЕМ. DOZER) УПРАВЛ-Е РАБОЧИМ ОБОРУДОВАНИЕМ
FIT
1:1
100%

Артикул

Название

Примечание

Количество

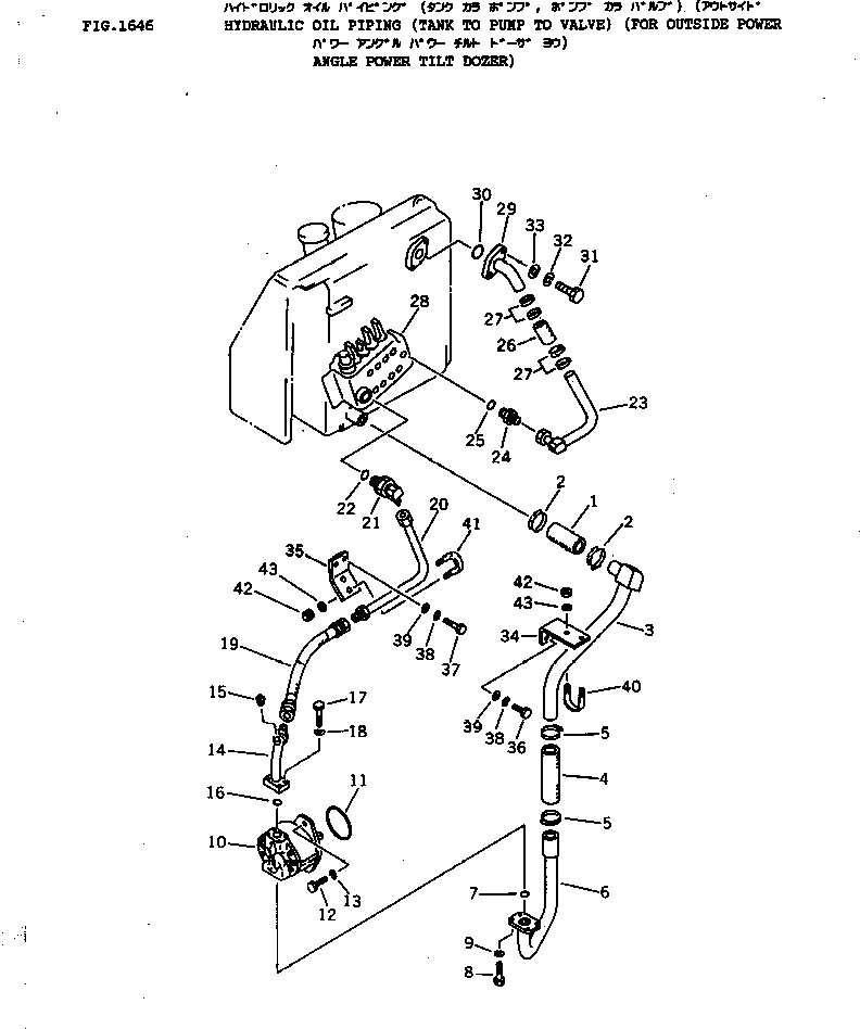
1

07260-04111

HOSE

SN: 6001-UP

1шт.

2

07281-00609

CLAMP

SN: 6001-UP

2шт.

3

124-62-31211

TUBE

SN: 6001-UP

1шт.

4

07260-04118

HOSE

SN: 6001-UP

1шт.

5

07281-00609

CLAMP

SN: 6001-UP

2шт.

6

124-62-31221

TUBE

SN: 6001-UP

1шт.

7

07000-03042

O-RING

SN: 6001-UP

1шт.

8

01010-51040

BOLT

SN: 6001-UP

4шт.

9

01602-21030

WASHER,SPRING

SN: 6001-UP

4шт.

10

705-12-32010

PUMP ASS'Y (DU)

SN: 6001-UP

1шт.

11

07000-22105

O-RING

SN: 6001-UP

1шт.

12

01010-51235

BOLT

SN: 6001-UP

2шт.

13

01602-21236

WASHER,SPRING

SN: 6001-UP

2шт.

14

124-62-31191

TUBE

SN: 6001-UP

1шт.

15

07042-20108

PLUG

SN: 6001-UP

1шт.

16

07000-13030

O-RING

SN: 6001-UP

1шт.

17

01010-50840

BOLT

SN: 6001-UP

4шт.

18

01602-20825

WASHER,SPRING

SN: 6001-UP

4шт.

19

07086-00604

HOSE

SN: 6012-UP

1шт.

19

07121-00604

HOSE

SN: 6001-6011

1шт.

20

124-62-31231

TUBE

SN: 6001-UP

1шт.

21

113-62-21240

ELBOW

SN: 6001-UP

1шт.

22

07002-13334

O-RING

SN: 6001-UP

1шт.

23

120-62-31771

TUBE

SN: 6001-UP

1шт.

24

07230-11034

UNION

SN: 6001-UP

1шт.

25

07002-03334

O-RING

SN: 6001-UP

1шт.

26

203-62-22221

HOSE

SN: 6001-UP

1шт.

27

07281-00549

CLAMP

SN: 6001-UP

4шт.

28

700-84-33001

VALVE ASS'Y

SN: 6001-UP

1шт.

29

120-62-31781

TUBE

SN: 6001-UP

1шт.

30

07000-03040

O-RING

SN: 6001-UP

1шт.

31

01010-51035

BOLT

SN: 6001-UP

2шт.

32

01602-21030

WASHER,SPRING

SN: 6001-UP

2шт.

33

01643-31032

WASHER

SN: 6001-UP

2шт.

34

124-62-31312

BRACKET

SN: 6001-UP

1шт.

35

120-62-31681

PLATE

SN: 6001-UP

1шт.

36

01010-51025

BOLT

SN: 6001-UP

2шт.

37

01010-51035

BOLT

SN: 6001-UP

2шт.

38

01602-21030

WASHER,SPRING

SN: 6001-UP

4шт.

39

01643-31032

WASHER

SN: 6001-UP

4шт.

40

07283-24346

CLIP

SN: 6001-UP

1шт.

41

07283-22738

CLIP

SN: 6001-UP

1шт.

42

01599-01011

NUT

SN: 6001-UP

4шт.

43

01643-31032

WASHER

SN: 6001-UP

4шт.

Выбрано товаров: 44