Запчасти Komatsu D41E-6 ТРАНСМИССИЯ (КОРПУС АКСЕССУАРЫ ЧАСТИ) СИЛОВАЯ ПЕРЕДАЧА И КОНЕЧНАЯ ПЕРЕДАЧА

Схема запчастей Komatsu D41E-6 - ТРАНСМИССИЯ (КОРПУС АКСЕССУАРЫ ЧАСТИ) СИЛОВАЯ ПЕРЕДАЧА И КОНЕЧНАЯ ПЕРЕДАЧА
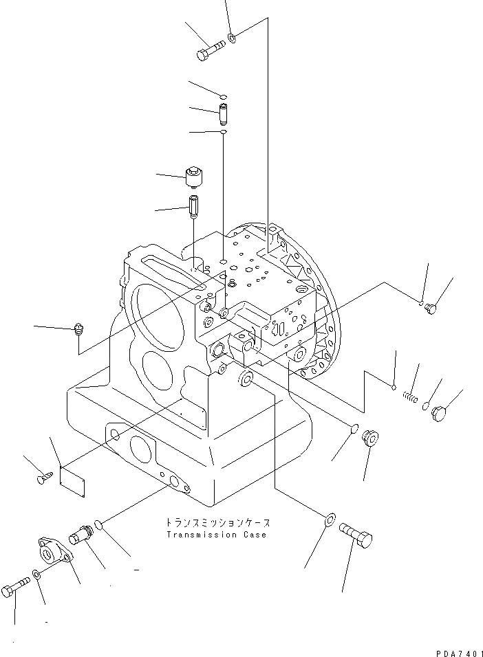
1
2
3
4
5
6
7
8
9
10
11
12
13
14
15
16
17
18
19
20
21
22
23
24
25
FIT
1:1
100%

Артикул

Название

Примечание

Количество

|1

124-15-00030

TRANSMISSION ASS'Y

SN: B20001-UP

1шт.

|$$2

THIS ASSEMBLY CONSISTS OF ALL PARTS SHOWN IN FIGS.F2320-01A0 TO F2320-13A0.

-1шт.

1

124-15-51630

PLUG

SN: B20001-UP

1шт.

2

07002-02434

O-RING (K1)

SN: B20001-UP

1шт.

3

419-15-18230

COVER

SN: B20001-UP

1шт.

4

01010-81235

BOLT

SN: B20001-UP

2шт.

5

01643-31232

WASHER

SN: B20001-UP

2шт.

6

04260-01270

BALL

SN: B20001-UP

1шт.

7

104-15-35150

SPRING,(L= 34.3)

SN: B20001-UP

1шт.

8

124-15-51620

PLUG

SN: B20001-UP

1шт.

9

07002-02034

O-RING (K1)

SN: B20001-UP

1шт.

10

07030-00252

BREATHER

SN: B20001-UP

1шт.

11

170-21-11190

NIPPLE

SN: B20001-UP

1шт.

12

569-13-46620

PLUG

SN: B20001-UP

1шт.

13

07005-01212

GASKET (K1)

SN: B20001-UP

1шт.

14

07042-20108

PLUG

SN: B20001-UP

1шт.

15

01010-81665

BOLT

SN: B20001-UP

4шт.

16

01643-31645

WASHER

SN: B20001-UP

4шт.

17

01010-81245

BOLT

SN: B20001-UP

3шт.

18

01643-31232

WASHER

SN: B20001-UP

3шт.

19

124-15-51610

PLUG,(HOLE=10.5)

SN: B20001-UP

1шт.

20

07002-02434

O-RING (K1)

SN: B20001-UP

1шт.

21

09608-05080

PLATE¤ NAME,(LIMITED SUPPLY)

SN: B20001-UP

1шт.

22

04418-13060

SCREW

SN: B20001-UP

4шт.

23

124-15-51311

SLEEVE

SN: B20001-UP

4шт.

24

07000-72010

O-RING (K1)

SN: B20001-UP

4шт.

25

07000-72012

O-RING (K1)

SN: B20001-UP

4шт.

Выбрано товаров: 27