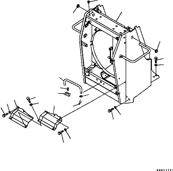
Запчасти Komatsu D41E-6 ЗАЩИТА РАДИАТОРА ЧАСТИ КОРПУСА

Схема запчастей Komatsu D41E-6 - ЗАЩИТА РАДИАТОРА ЧАСТИ КОРПУСА
10
11
9
10
11
8
16
14
13
12
15
6
7
10
11
5
4
2
1
3
2
FIT
1:1
100%

Артикул

Название

Примечание

Количество

1

124-54-61613

GUARD ASSEMBLY

SN: B40001-UP

-1шт.

2

201-43-28440

GROMMET

SN: B40001-UP

-1шт.

3

07049-01620

PLUG

SN: B40001-UP

-1шт.

4

01010-81660

BOLT

SN: B40001-UP

-1шт.

5

01643-31645

WASHER

SN: B40001-UP

-1шт.

6

01010-82065

BOLT

SN: B40001-UP

-1шт.

7

01643-32060

WASHER

SN: B40001-UP

-1шт.

8

124-54-61662

BRACKET

SN: B40001-UP

-1шт.

9

124-54-61672

BRACKET

SN: B40001-UP

-1шт.

10

01010-81025

BOLT

SN: B40001-UP

-1шт.

11

01643-31032

WASHER

SN: B40001-UP

-1шт.

12

124-54-61711

ROD

SN: B40001-UP

-1шт.

13

01023-10412

SCREW

SN: B40001-UP

-1шт.

14

124-54-61720

SPRING

SN: B40001-UP

-1шт.

15

01643-51032

WASHER

SN: B40001-UP

-1шт.

16

04050-13020

PIN

SN: B40001-UP

-1шт.

Выбрано товаров: 16