Запчасти Komatsu D41E6T ПРИБОРНАЯ ПАНЕЛЬ (КАБИНА) (С ВОЗД.-CONDITIONER) (ЭЛЕКТРОПРОВОДКА И ОСВЕЩЕНИЕ) OPERATORґS ОБСТАНОВКА И СИСТЕМА УПРАВЛЕНИЯ

Схема запчастей Komatsu D41E6T - ПРИБОРНАЯ ПАНЕЛЬ (КАБИНА) (С ВОЗД.-CONDITIONER) (ЭЛЕКТРОПРОВОДКА И ОСВЕЩЕНИЕ) OPERATORґS ОБСТАНОВКА И СИСТЕМА УПРАВЛЕНИЯ
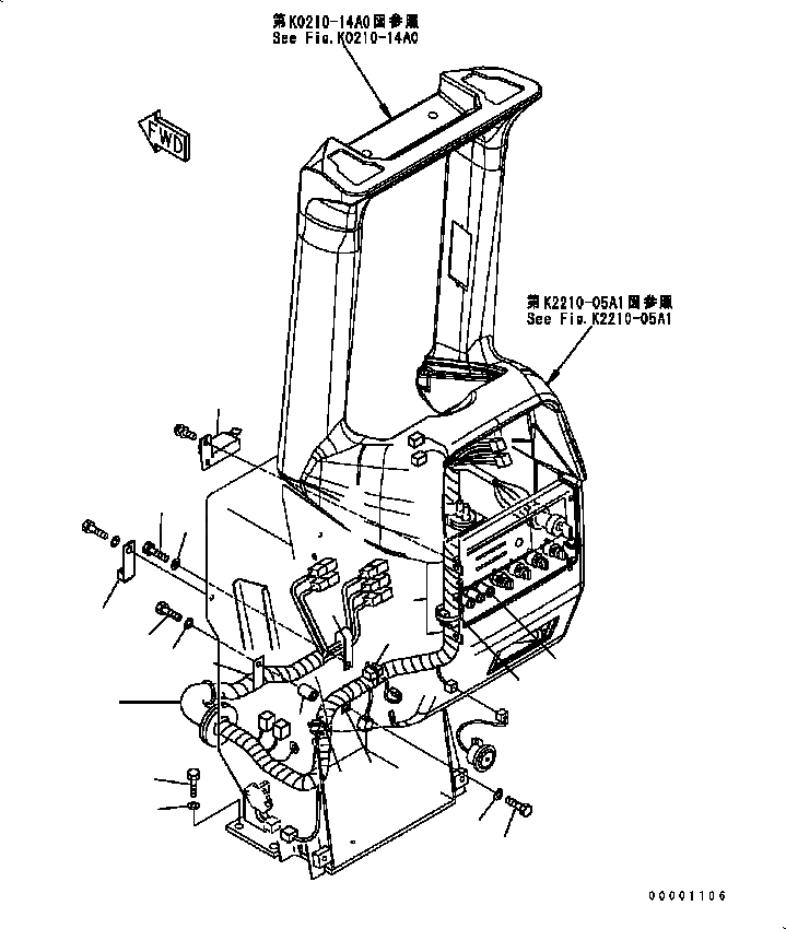
17
18
15
15
10
11
14
16
13
12
3
8
9
6
2
1
7
3
5
4
FIT
1:1
100%

Артикул

Название

Примечание

Количество

1

124-06-61124

WIRING HARNESS

SN: B35265-UP

1шт.

|$1

124-06-61123

WIRING HARNESS

SN: B35001-B35264

1шт.

2

08034-00519

BAND

SN: B35001-UP

4шт.

3

04434-52310

CLIP

SN: B35001-UP

3шт.

4

01010-80816

BOLT

SN: B35001-UP

3шт.

5

01643-30823

WASHER

SN: B35001-UP

3шт.

6

04434-53408

CLIP

SN: B35001-UP

1шт.

7

6162-23-5770

SPACER

SN: B35001-UP

1шт.

8

01010-80840

BOLT

SN: B35001-UP

1шт.

9

01643-30823

WASHER

SN: B35001-UP

1шт.

10

04435-51908

CLIP

SN: B35001-UP

1шт.

11

01010-80816

BOLT

SN: B35001-UP

1шт.

12

01643-30823

WASHER

SN: B35001-UP

1шт.

13

124-06-62330

PLATE

SN: B35001-UP

2шт.

14

124-06-65310

BRACKET

SN: B35001-UP

1шт.

15

08034-00519

BAND

SN: B35001-UP

2шт.

16

134-06-61612

LAMP ASS'Y

SN: B35001-UP

1шт.

|$17

11Y-06-11560

BULB§ 3W

SN: B35001-UP

3шт.

|$18

134-06-61650

LENS

SN: B35001-UP

1шт.

|$19

134-06-61660

LENS

SN: B35001-UP

1шт.

|$20

134-06-61670

LENS

SN: B35001-UP

1шт.

17

01010-81230

BOLT

SN: B35001-UP

6шт.

18

01643-31232

WASHER

SN: B35001-UP

6шт.

Выбрано товаров: 23