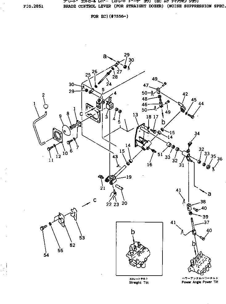
Запчасти Komatsu D41P-3 BRADE РЫЧАГ УПРАВЛ-Я (ДЛЯ ПРЯМ. DOZER) (REGURATION OF EC INCLUSION)(№7-) ОПЦИОННЫЕ КОМПОНЕНТЫ

Схема запчастей Komatsu D41P-3 - BRADE РЫЧАГ УПРАВЛ-Я (ДЛЯ ПРЯМ. DOZER) (REGURATION OF EC INCLUSION)(№7-) ОПЦИОННЫЕ КОМПОНЕНТЫ
FIT
1:1
100%

Артикул

Название

Примечание

Количество

1

120-43-37172

LEVER

SN: 7556-UP

1шт.

2

09304-01250

KNOB

SN: 7556-UP

1шт.

3

120-43-37272

LEVER

SN: 7556-UP

1шт.

4

06120-01612

BEARING,NEEDLE

SN: 7556-UP

2шт.

5

06122-01603

SEAL,BEARING

SN: 7556-UP

2шт.

6

01010-30620

BOLT

SN: 7556-UP

4шт.

7

01602-00619

WASHER,SPRING

SN: 7556-UP

4шт.

8

09340-10130

SPRING

SN: 7556-UP

1шт.

9

130-43-62140

COVER

SN: 7556-UP

1шт.

10

120-43-37292

COVER

SN: 7556-UP

1шт.

11

01010-30820

BOLT

SN: 7556-UP

4шт.

12

01602-00825

WASHER,SPRING

SN: 7556-UP

4шт.

13

120-43-37213

BRACKET

SN: 7556-UP

1шт.

14

06120-02016

BEARING,NEEDLE

SN: 7556-UP

2шт.

15

06122-02004

SEAL,BEARING

SN: 7556-UP

2шт.

16

07020-00000

FITTING,GREASE

SN: 7556-UP

1шт.

17

01010-31025

BOLT

SN: 7556-UP

4шт.

18

01602-01030

WASHER,SPRING

SN: 7556-UP

4шт.

19

120-43-37193

SHAFT

SN: 7556-UP

1шт.

20

135-43-11171

SHAFT

SN: 7556-UP

1шт.

21

07020-00900

FITTING,GREASE

SN: 7556-UP

1шт.

22

01306-00616

SCREW

SN: 7556-UP

1шт.

23

04059-01012

WIRE,LOCK

SN: 7556-UP

1шт.

24

04248-30816

ROD

SN: 7556-UP

1шт.

25

04250-60847

END,L.H. THREAD

SN: 7556-UP

1шт.

26

01508-20805

NUT,L.H. THREAD

SN: 7556-UP

1шт.

27

113-43-23270

END

SN: 7556-UP

1шт.

28

01580-10806

NUT

SN: 7556-UP

1шт.

29

01590-10809

NUT

SN: 7556-UP

2шт.

30

04050-12018

PIN,COTTER

SN: 7556-UP

2шт.

31

120-43-37471

LEVER

SN: 7556-UP

1шт.

32

06120-02016

BEARING,NEEDLE

SN: 7556-UP

2шт.

33

06122-02004

SEAL,BEARING

SN: 7556-UP

2шт.

34

07020-00900

FITTING,GREASE

SN: 7556-UP

1шт.

35

120-43-37371

WASHER

SN: 7556-UP

1шт.

36

04050-14030

PIN,COTTER

SN: 7556-UP

1шт.

37

04244-40811

ROD

SN: 7556-UP

1шт.

38

04211-20844

YOKE

SN: 7556-UP

1шт.

39

01580-10806

NUT

SN: 7556-UP

1шт.

40

04205-10825

PIN

SN: 7556-UP

2шт.

41

04050-12018

PIN,COTTER

SN: 7556-UP

2шт.

42

120-43-37361

LEVER

SN: 7556-UP

1шт.

43

04010-00519

KEY

SN: 7556-UP

1шт.

44

01010-30830

BOLT

SN: 7556-UP

1шт.

45

01602-00825

WASHER,SPRING

SN: 7556-UP

1шт.

46

04244-40805

ROD

SN: 7556-UP

1шт.

47

04210-20832

YOKE

SN: 7556-UP

1шт.

48

01580-10806

NUT

SN: 7556-UP

1шт.

49

04205-10825

PIN

SN: 7556-UP

2шт.

50

04050-12018

PIN,COTTER

SN: 7556-UP

2шт.

51

120-43-37351

SPACER

SN: 7556-UP

1шт.

52

134-Z16-7170

COVER

SN: 7556-UP

1шт.

53

134-Z16-7180

PLATE

SN: 7556-UP

1шт.

54

01010-50816

BOLT

SN: 7556-UP

2шт.

55

01643-30823

WASHER

SN: 7556-UP

2шт.

Выбрано товаров: 55