Запчасти Komatsu D41P-3 ПЕДАЛЬ ЗАМЕДЛИТЕЛЯ ОБОРОТОВ И МЕХАНИЗМ(№7-) КОМПОНЕНТЫ ДВИГАТЕЛЯ И ЭЛЕКТРИКА

Схема запчастей Komatsu D41P-3 - ПЕДАЛЬ ЗАМЕДЛИТЕЛЯ ОБОРОТОВ И МЕХАНИЗМ(№7-) КОМПОНЕНТЫ ДВИГАТЕЛЯ И ЭЛЕКТРИКА
FIT
1:1
100%

Артикул

Название

Примечание

Количество

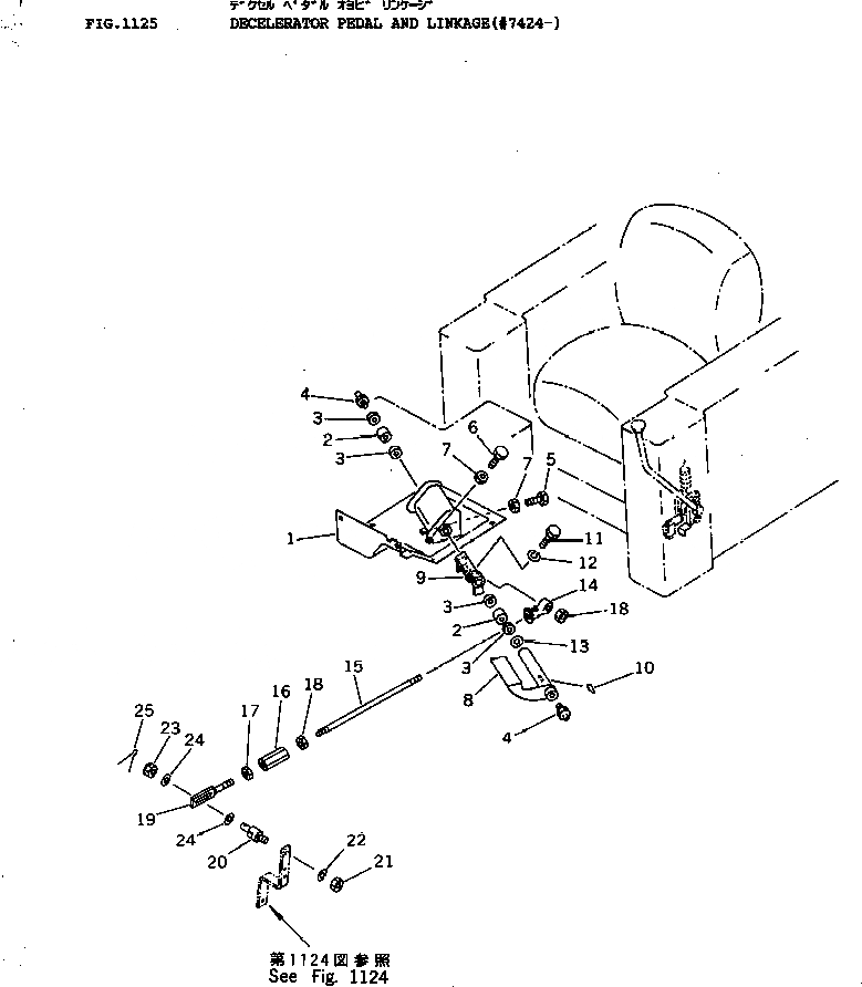
1

124-43-32391

FLOOR,FRAME

SN: 7424-UP

1шт.

2

06120-02016

BEARING,NEEDLE

SN: 7424-UP

2шт.

3

06122-02004

SEAL,BEARING

SN: 7424-UP

4шт.

4

07020-00000

FITTING,GREASE

SN: 7424-UP

2шт.

5

01016-50840

BOLT

SN: 7424-UP

1шт.

6

01016-50850

BOLT

SN: 7424-UP

1шт.

7

01580-10806

NUT

SN: 7424-UP

2шт.

8

124-43-32381

PEDAL

SN: 7424-UP

1шт.

9

124-43-32361

LEVER

SN: 7424-UP

1шт.

10

04010-00519

KEY

SN: 7424-UP

1шт.

11

01010-50830

BOLT

SN: 7424-UP

1шт.

12

01602-20825

WASHER,SPRING

SN: 7424-UP

1шт.

13

01640-22032

WASHER

SN: 7424-UP

1шт.

14

04250-40847

END,ROD

SN: 7424-UP

1шт.

15

04245-40862

ROD

SN: 7424-UP

1шт.

16

131-43-58210

JOINT

SN: 7424-UP

1шт.

17

01508-20805

NUT,L.H. THREAD

SN: 7424-UP

1шт.

18

01580-10806

NUT

SN: 7424-UP

2шт.

19

124-43-32371

ROD

SN: 7424-UP

1шт.

20

124-43-26430

PIN

SN: 7424-UP

1шт.

21

01580-10806

NUT

SN: 7424-UP

1шт.

22

01602-20825

WASHER,SPRING

SN: 7424-UP

1шт.

23

01593-11008

NUT

SN: 7424-UP

1шт.

24

01643-31032

WASHER

SN: 7424-UP

2шт.

25

04050-12018

PIN

SN: 7424-UP

1шт.

Выбрано товаров: 25