Запчасти Komatsu D41P-3 КОРПУС ТРАНСМИССИИ И НАПОЛНИТЕЛЬ ОСНОВН. МУФТА И ТРАНСМИССИЯ

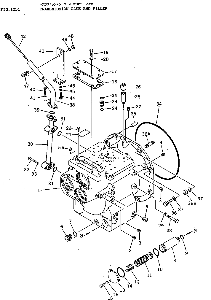
Схема запчастей Komatsu D41P-3 - КОРПУС ТРАНСМИССИИ И НАПОЛНИТЕЛЬ ОСНОВН. МУФТА И ТРАНСМИССИЯ
FIT
1:1
100%

Артикул

Название

Примечание

Количество

|1

124-15-00023

TRANSMISSION ASS'Y

SN: 6553-UP

1шт.

|1

0

TRANSMISSION ASS'Y

SN: 6564-6552

1шт.

|1

124-15-00021

TRANSMISSION ASS'Y

SN: 6001-6463

1шт.

|$$4

THESE ASSEMBLIES CONSIST OF ALL PARTS SHOWN IN FIGS.1251 TO 1262A.

-1шт.

|1

124-15-00112

TRANSMISSION ASS'Y

SN: 6464-6552

1шт.

|1

124-15-00111

TRANSMISSION ASS'Y

SN: 6001-6463

1шт.

|$$7

THESE ASSEMBLIES CONSIST OF ALL PARTS SHOWN IN FIGS.1251 TO 1257.

-1шт.

|1

124-15-00201

CASE ASS'Y

SN: 6553-UP

1шт.

|1

124-15-00200

CASE ASS'Y

SN: 6001-6552

1шт.

1

0

CASE

SN: 6553-UP

1шт.

|1

0

CASE

SN: 6001-6552

1шт.

2

07043-00211

PLUG

SN: 6001-UP

2шт.

3

07042-00108

PLUG

SN: 6001-UP

1шт.

4

07043-00312

PLUG

SN: 6001-UP

5шт.

5

07043-01019

PLUG

SN: 6001-UP

1шт.

5A

07043-50211

PLUG

SN: 6732-UP

1шт.

6

07044-13620

PLUG

SN: 6001-UP

1шт.

7

07002-03634

O-RING (KIT)

SN: 6001-UP

1шт.

8

125-15-11711

CASE

SN: 6001-UP

1шт.

9

07000-73030

O-RING (KIT)

SN: 6001-UP

1шт.

10

07000-72055

O-RING (KIT)

SN: 6001-UP

1шт.

11

125-15-11722

MAGNET ASS'Y

SN: 6001-UP

1шт.

12

125-15-11790

SPRING

SN: 6001-UP

1шт.

13

125-15-31420

COVER

SN: 6001-UP

1шт.

14

07000-72075

O-RING (KIT)

SN: 6001-UP

1шт.

15

01010-31025

BOLT

SN: 6001-UP

3шт.

16

01602-01030

WASHER,SPRING

SN: 6001-UP

3шт.

17

124-15-41810

PLATE

SN: 6001-UP

1шт.

18

124-15-41820

GASKET (KIT)

SN: 6001-UP

1шт.

19

01010-31230

BOLT

SN: 6001-UP

6шт.

20

01602-01236

WASHER,SPRING

SN: 6001-UP

6шт.

21

09608-05080

PLATE¤ NAME,(LIMITED SUPPLY)

SN: 6001-UP

1шт.

22

04418-03060

SCREW

SN: 6001-UP

4шт.

23

124-15-41310

SLEEVE

SN: 6001-UP

4шт.

24

07000-72021

O-RING (KIT)

SN: 6001-UP

8шт.

25

124-15-41670

PIPE

SN: 6001-UP

1шт.

26

07030-00252

BREATHER

SN: 6001-UP

1шт.

27

07048-01410

PLUG

SN: 6001-UP

3шт.

28

01010-31455

BOLT

SN: 6001-UP

4шт.

29

01643-31445

WASHER

SN: 6001-UP

4шт.

30

124-15-41710

FILLER

SN: 6001-UP

1шт.

31

07000-03035

O-RING (KIT)

SN: 6001-UP

2шт.

32

01010-31065

BOLT

SN: 6001-UP

4шт.

33

01602-01030

WASHER,SPRING

SN: 6001-UP

4шт.

34

07000-05440

O-RING (KIT)

SN: 6001-UP

1шт.

35

04020-01638

PIN,DOWEL

SN: 6001-UP

1шт.

36

01010-31850

BOLT

SN: 6001-UP

8шт.

36A

01124-51845

STUD

SN: 6001-UP

2шт.

36B

01580-11815

NUT

SN: 6001-UP

2шт.

37

01643-31845

WASHER

SN: 6001-UP

8шт.

38

124-15-41720

FILLER

SN: 6001-UP

1шт.

39

07000-03035

O-RING (KIT)

SN: 6001-UP

1шт.

40

01010-31030

BOLT

SN: 6001-UP

2шт.

41

01602-01030

WASHER,SPRING

SN: 6001-UP

2шт.

42

124-15-41760

GAUGE,OIL LEVEL

SN: 6001-UP

1шт.

43

124-15-41740

BRACKET

SN: 6001-UP

1шт.

44

01010-31025

BOLT

SN: 6001-UP

2шт.

45

01602-01030

WASHER,SPRING

SN: 6001-UP

2шт.

46

01643-31032

WASHER

SN: 6001-UP

2шт.

47

07283-23442

CLIP

SN: 6001-UP

1шт.

48

01599-01011

NUT

SN: 6001-UP

2шт.

49

01643-31032

WASHER

SN: 6001-UP

2шт.

Выбрано товаров: 62