Запчасти Komatsu D41P-5 С-ОБРАЗН. РАМА РАБОЧЕЕ ОБОРУДОВАНИЕ

Схема запчастей Komatsu D41P-5 - С-ОБРАЗН. РАМА РАБОЧЕЕ ОБОРУДОВАНИЕ
FIT
1:1
100%

Артикул

Название

Примечание

Количество

|1

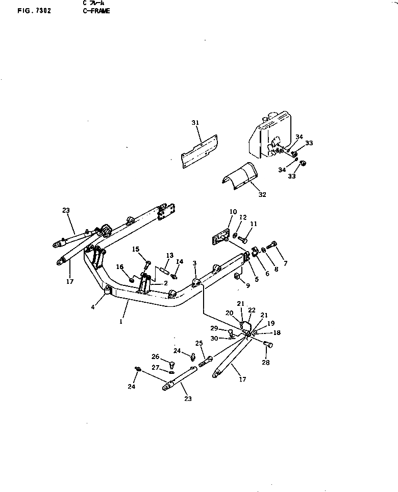
12F-Y26-0010

C-FRAME ASS'Y

SN: 10001-UP

1шт.

1

0

C-FRAME

SN: 10001-UP

1шт.

2

12F-Y26-3222

BRACKET,L.H. (WELDED)

SN: 10001-UP

1шт.

|2

12F-Y26-3232

BRACKET,R.H. (WELDED)

SN: 10001-UP

1шт.

3

120-70-23210

BRACKET (WELDED)

SN: 10001-UP

6шт.

4

130-70-13125

SHAFT

SN: 10001-UP

1шт.

5

0

PIVOT,(WELDED) (KIT)

SN: 10001-UP

1шт.

6

130-70-13231

CAP (KIT)

SN: 10001-UP

1шт.

7

01011-62445

BOLT (KIT)

SN: 10001-UP

2шт.

8

01643-32460

WASHER (KIT)

SN: 10001-UP

2шт.

9

130-70-13241

NUT (KIT)

SN: 10001-UP

2шт.

10

12F-70-32212

TRUNNION

SN: 10001-UP

2шт.

11

01010-32055

BOLT

SN: 10001-UP

16шт.

12

01643-32060

WASHER

SN: 10001-UP

16шт.

13

130-817-5461

SHAFT

SN: 10001-UP

2шт.

14

07020-00000

FITTING,GREASE

SN: 10001-UP

2шт.

15

01010-51080

BOLT

SN: 10001-UP

2шт.

16

01598-01011

NUT

SN: 10001-UP

2шт.

17

12F-Z26-1310

ARM

SN: 10001-UP

2шт.

18

130-70-12180

PIN

SN: 10001-UP

1шт.

19

120-70-22140

COLLAR

SN: 10001-UP

1шт.

20

130-70-12190

PIN

SN: 10001-UP

1шт.

21

09245-50060

HOOK (WELDED)

SN: 10001-UP

2шт.

22

09245-04830

CHAIN

SN: 10001-UP

1шт.

|23

12F-Z26-0020

TILT BRACE ASS'Y

SN: 10001-UP

2шт.

23

0

BRACE

SN: 10001-UP

1шт.

24

07020-00000

FITTING,GREASE

SN: 10001-UP

2шт.

25

124-70-21310

SCREW

SN: 10001-UP

1шт.

26

130-70-52110

SCREW

SN: 10001-UP

1шт.

27

01602-21442

WASHER,SPRING

SN: 10001-UP

1шт.

28

130-70-12221

PIN

SN: 10001-UP

2шт.

29

130-70-12231

PIN

SN: 10001-UP

2шт.

30

04050-15030

PIN

SN: 10001-UP

2шт.

31

120-54-33511

COVER,R.H.

SN: 10001-UP

1шт.

32

12F-30-31181

COVER,R.H.

SN: 10001-UP

1шт.

33

07040-12414

PLUG

SN: 10001-UP

2шт.

34

07002-12434

O-RING

SN: 10001-UP

2шт.

|$$38

SERVICE KIT

-1шт.

|5

130-70-00072

PIVOT ASS'Y

SN: 10001-UP

2шт.

5

0

PIVOT

SN: 10001-UP

1шт.

6

130-70-13231

CAP

SN: 10001-UP

1шт.

7

01011-62445

BOLT

SN: 10001-UP

2шт.

8

01643-32460

WASHER

SN: 10001-UP

2шт.

9

130-70-13241

NUT

SN: 10001-UP

2шт.

Выбрано товаров: 44