Запчасти Komatsu D41P-5 ПРУЖИНА ГУСЕНИЦЫ

Схема запчастей Komatsu D41P-5 - ПРУЖИНА ГУСЕНИЦЫ
FIT
1:1
100%

Артикул

Название

Примечание

Количество

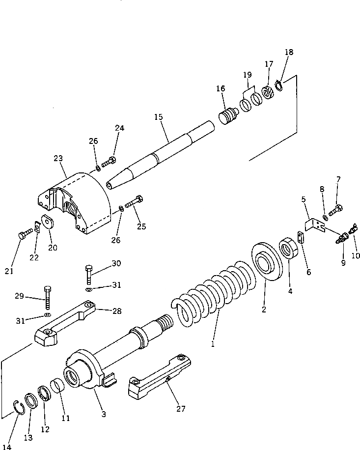
1

120-30-33311

SPRING,RECOIL

SN: 10001-UP

2шт.

2

12F-30-33180

PILOT

SN: 10001-UP

2шт.

3

12F-30-43120

CYLINDER,L.H.

SN: 10001-UP

1шт.

|3

12F-30-43130

CYLINDER,R.H.

SN: 10001-UP

1шт.

4

20X-30-22220

NUT

SN: 10001-UP

2шт.

5

201-30-52270

LOCK

SN: 10001-UP

2шт.

6

201-30-52280

SEAT

SN: 10001-UP

2шт.

7

01010-50830

BOLT

SN: 10001-UP

4шт.

8

01643-30823

WASHER

SN: 10001-UP

4шт.

9

203-30-42260

VALVE

SN: 10001-UP

2шт.

10

07020-00900

FITTING,GREASE

SN: 10001-UP

2шт.

11

07177-06030

BUSHING

SN: 10001-UP

2шт.

12

144-30-14340

SEAL,DUST

SN: 10001-UP

2шт.

13

144-30-14350

SPACER

SN: 10001-UP

2шт.

14

04065-07525

RING,SNAP

SN: 10001-UP

2шт.

15

12F-30-43110

ROD

SN: 10001-UP

2шт.

16

125-30-14170

PISTON

SN: 10001-UP

2шт.

17

09370-00060

U-PACKING

SN: 10001-UP

2шт.

18

04064-03515

RING,SNAP

SN: 10001-UP

2шт.

19

07155-00615

RING,WEAR

SN: 10001-UP

4шт.

20

141-30-14130

WASHER

SN: 10001-UP

2шт.

21

01010-51840

BOLT

SN: 10001-UP

2шт.

22

141-30-14140

PLATE

SN: 10001-UP

2шт.

23

125-30-21250

YOKE ASS'Y

SN: 10001-UP

2шт.

24

01010-51450

BOLT

SN: 10001-UP

4шт.

25

01010-51475

BOLT

SN: 10001-UP

8шт.

26

01602-21442

WASHER,SPRING

SN: 10001-UP

12шт.

27

12F-30-12270

BRACKET,L.H.

SN: 10001-UP

2шт.

28

12F-30-12280

BRACKET,R.H.

SN: 10001-UP

2шт.

29

01010-51885

BOLT

SN: 10001-UP

4шт.

30

01010-51860

BOLT

SN: 10001-UP

4шт.

31

01643-21845

WASHER

SN: 10001-UP

8шт.

Выбрано товаров: 32