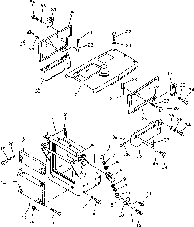
Запчасти Komatsu D41P-5 ЗАЩИТА РАДИАТОРА AND КАПОТ (ДЛЯ TОБОД КОЛЕСАMING DOZER) ЧАСТИ КОРПУСА

Схема запчастей Komatsu D41P-5 - ЗАЩИТА РАДИАТОРА AND КАПОТ (ДЛЯ TОБОД КОЛЕСАMING DOZER) ЧАСТИ КОРПУСА
FIT
1:1
100%

Артикул

Название

Примечание

Количество

1

12F-X16-1710

GUARD,RADIATOR

SN: 10001-UP

1шт.

|1

120-54-31171

YOKE,LIFT CYLINDER

SN: 10001-UP

2шт.

2

120-54-31220

CATCHER ASS'Y

SN: 10001-UP

2шт.

3

01018-32055

BOLT

SN: 10001-UP

16шт.

4

01643-32060

WASHER

SN: 10001-UP

16шт.

5

120-54-31321

SUPPORT

SN: 10001-UP

2шт.

6

120-54-31371

HOUSING

SN: 10001-UP

8шт.

7

120-54-31381

BUSHING

SN: 10001-UP

8шт.

8

170-70-15190

PIN

SN: 10001-UP

8шт.

9

07145-00040

SEAL,DUST

SN: 10001-UP

8шт.

10

120-54-31361

CAP

SN: 10001-UP

8шт.

11

07020-00000

FITTING,GREASE

SN: 10001-UP

8шт.

12

01010-51260

BOLT

SN: 10001-UP

16шт.

13

01602-21236

WASHER,SPRING

SN: 10001-UP

16шт.

14

120-X16-1721

MASK,RADIATOR

SN: 10001-UP

1шт.

15

01013-51000

BOLT

SN: 10001-UP

2шт.

16

01590-31012

NUT

SN: 10001-UP

2шт.

17

04050-12018

PIN,COTTER

SN: 10001-UP

2шт.

18

12F-X16-1730

MASK

SN: 10001-UP

1шт.

19

01010-51280

BOLT

SN: 10001-UP

4шт.

20

01643-31232

WASHER

SN: 10001-UP

4шт.

21

120-X16-1741

HOOD,L.H.

SN: 11321-UP

1шт.

|21

120-X16-1740

HOOD,L.H.

SN: 10001-11320

1шт.

22

01010-51235

BOLT,L.H.

SN: 10001-UP

3шт.

23

120-54-31351

WASHER,R.H.

SN: 10001-UP

3шт.

24

120-Y16-3752

COVER,R.H.

SN: 10001-UP

1шт.

25

120-Y16-3762

COVER,L.H.

SN: 10001-UP

1шт.

26

11G-Z16-3130

HANDLE,R.H.

SN: 10001-UP

4шт.

27

144-854-1910

SPRING

SN: 10001-UP

4шт.

28

11G-Z16-3140

PLATE

SN: 10001-UP

4шт.

29

04025-00524

PIN,SPRING

SN: 10001-UP

4шт.

30

120-54-37232

COVER,L.H.

SN: 10001-UP

1шт.

31

120-Y16-3961

COVER,R.H.

SN: 10001-UP

1шт.

32

120-Y16-3772

COVER,L.H.

SN: 10001-UP

1шт.

33

120-Y16-3782

COVER,R.H.

SN: 10001-UP

1шт.

34

01010-51225

BOLT

SN: 10001-UP

12шт.

35

01643-31232

WASHER

SN: 10001-UP

12шт.

36

130-54-61230

WASHER

SN: 10001-UP

2шт.

37

09450-00000

CATCH

SN: 10001-UP

4шт.

38

09450-00002

PIN

SN: 10001-UP

4шт.

39

04050-01610

PIN,COTTER

SN: 10001-UP

4шт.

Выбрано товаров: 41