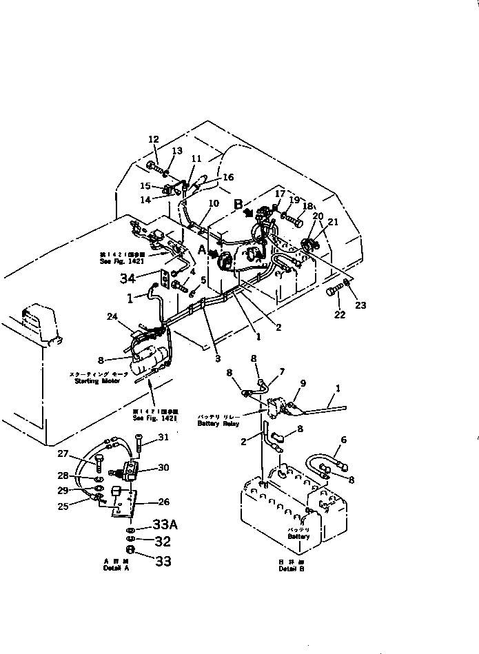
Запчасти Komatsu D41P-5A ЭЛЕКТРИКА (/) (С СТАЛЬНАЯ КАБИНА)(№-) КОМПОНЕНТЫ ДВИГАТЕЛЯ И ЭЛЕКТРИКА

Схема запчастей Komatsu D41P-5A - ЭЛЕКТРИКА (/) (С СТАЛЬНАЯ КАБИНА)(№-) КОМПОНЕНТЫ ДВИГАТЕЛЯ И ЭЛЕКТРИКА
FIT
1:1
100%

Артикул

Название

Примечание

Количество

1

120-06-43120

WIRE,(SEE FIG.1421)

SN: 10510-UP

1шт.

2

120-06-43250

WIRE

SN: 10510-UP

1шт.

3

198-61-14180

CLIP

SN: 10510-UP

5шт.

4

01010-51016

BOLT

SN: 10510-UP

4шт.

5

01602-21030

WASHER,SPRING

SN: 10510-UP

4шт.

6

113-06-21170

WIRE ASS'Y

SN: 10510-UP

1шт.

7

120-06-31253

WIRE

SN: 10510-UP

1шт.

8

08038-06031

CAP

SN: 10510-UP

6шт.

9

08038-00519

CAP

SN: 10510-UP

2шт.

10

120-06-43240

WIRE

SN: 10510-UP

1шт.

11

08035-01510

CLIP

SN: 10510-UP

5шт.

12

01010-51016

BOLT

SN: 10510-UP

5шт.

13

01602-21030

WASHER,SPRING

SN: 10510-UP

5шт.

14

08038-00519

CAP

SN: 10510-UP

2шт.

15

08064-10000

SWITCH,HORN

SN: 10510-UP

1шт.

16

08034-00519

BAND

SN: 10510-UP

2шт.

17

08035-01510

CLIP

SN: 10510-UP

2шт.

18

01010-51016

BOLT

SN: 10510-UP

2шт.

19

01602-21030

WASHER,SPRING

SN: 10510-UP

2шт.

20

144-06-81210

SENSOR,FUEL LEVEL

SN: 10510-UP

1шт.

21

07000-03050

O-RING

SN: 10510-UP

1шт.

22

01010-51020

BOLT

SN: 10510-UP

4шт.

23

01643-31032

WASHER

SN: 10510-UP

4шт.

24

08034-00519

BAND

SN: 10510-UP

2шт.

25

08036-10610

CLIP

SN: 10510-UP

1шт.

26

124-06-31141

PLATE

SN: 10510-UP

1шт.

27

01010-50825

BOLT

SN: 10510-UP

2шт.

28

01602-20825

WASHER,SPRING

SN: 10510-UP

2шт.

29

01643-30823

WASHER

SN: 10510-UP

2шт.

30

113-06-23250

SWITCH,SAFETY

SN: 10510-UP

1шт.

31

01220-40435

SCREW

SN: 10510-UP

2шт.

32

01601-40410

WASHER,SPRING

SN: 10510-UP

2шт.

33

01580-10403

NUT

SN: 10510-UP

2шт.

33A

134-06-22130

WASHER

SN: 10510-UP

2шт.

34

120-Y11-1510

BRACKET,SEAL

SN: 10975-UP

1шт.

Выбрано товаров: 35