Запчасти Komatsu D41P-6 ФРОНТАЛЬНАЯ ЗАЩИТА (БОКОВ. КРЫШКА ДВИГ.¤ ВЕРХН.)(REGULATION OF EC INCLUSION) ЧАСТИ КОРПУСА

Схема запчастей Komatsu D41P-6 - ФРОНТАЛЬНАЯ ЗАЩИТА (БОКОВ. КРЫШКА ДВИГ.¤ ВЕРХН.)              (REGULATION OF EC INCLUSION) ЧАСТИ КОРПУСА
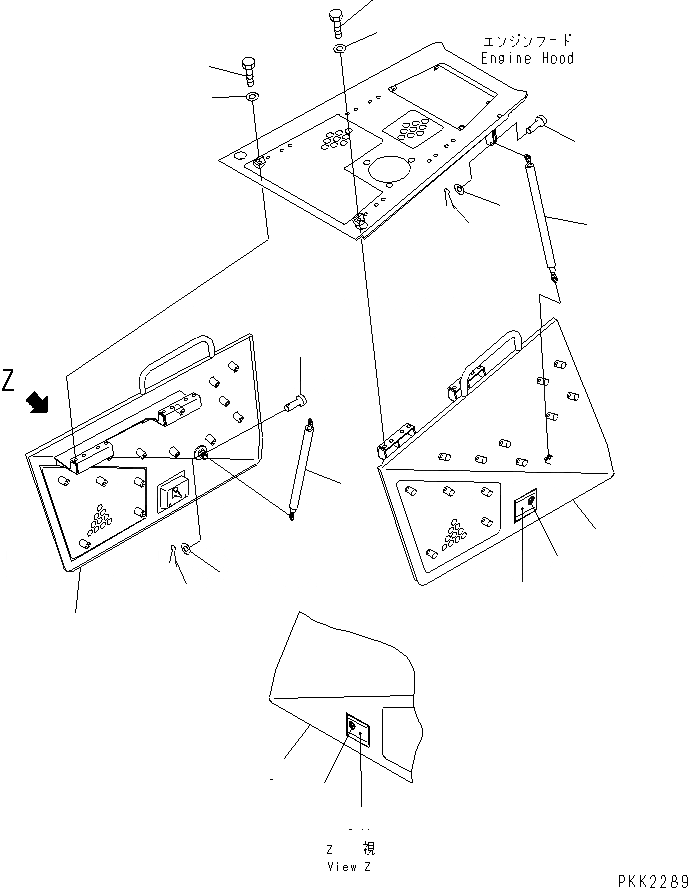
1
2
2A
3
3
4
4
5
5
6
6A
7
7
8
8
9
9
10
10
FIT
1:1
100%

Артикул

Название

Примечание

Количество

1

124-A62-2520

COVER,L.H.

SN: B20001-UP

1шт.

2

17A-54-14230

LOCK (WELDED)

SN: B20001-UP

1шт.

2A

421-54-11381

LOCK

SN: B20001-UP

1шт.

3

01010-81025

BOLT

SN: B20001-UP

16шт.

4

01643-31032

WASHER

SN: B20001-UP

16шт.

5

124-A62-2530

COVER,R.H.

SN: B20001-UP

1шт.

6

17A-54-14230

LOCK (WELDED)

SN: B20001-UP

1шт.

6A

421-54-11381

LOCK

SN: B20001-UP

1шт.

7

14X-54-12780

DUMPER

SN: B20001-UP

2шт.

8

04205-10828

PIN

SN: B20001-UP

4шт.

9

01641-20812

WASHER

SN: B20001-UP

4шт.

10

04050-12015

PIN

SN: B20001-UP

4шт.

Выбрано товаров: 12