Запчасти Komatsu D41P-6 ЗАДН. ЧАСТИ КОРПУСА (КРЫШКА АККУМУЛЯТОРА) ЧАСТИ КОРПУСА

Схема запчастей Komatsu D41P-6 - ЗАДН. ЧАСТИ КОРПУСА (КРЫШКА АККУМУЛЯТОРА) ЧАСТИ КОРПУСА
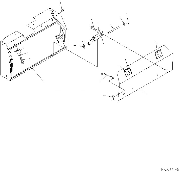
1
2
3
3
4
5
6
7
7
8
9
10
11
11A
12
13
14
15
16
FIT
1:1
100%

Артикул

Название

Примечание

Количество

|1

124-54-54102

COVER ASS'Y

SN: B20501-UP

1шт.

|1

124-54-54101

COVER ASS'Y

SN: B20001-B20500

1шт.

1

01010-81020

BOLT

SN: B20001-UP

4шт.

2

01010-81225

BOLT

SN: B20001-UP

4шт.

3

01641-21016

WASHER

SN: B20001-UP

4шт.

4

01643-31032

WASHER

SN: B20001-UP

4шт.

5

01643-31232

WASHER

SN: B20001-UP

4шт.

6

04050-12015

PIN

SN: B20001-UP

1шт.

7

04050-13020

PIN

SN: B20001-UP

4шт.

8

08037-01610

GROMMET

SN: B20501-UP

1шт.

|8

08037-01008

GROMMET

SN: B20001-B20500

1шт.

9

124-54-54112

COVER

SN: B20501-UP

1шт.

|9

124-54-54111

COVER

SN: B20001-B20500

1шт.

10

124-54-54121

COVER

SN: B20001-UP

1шт.

11

17A-54-14230

LOCK (WELDED)

SN: B20001-UP

1шт.

11A

421-54-11381

LOCK

SN: B20001-UP

1шт.

12

17A-54-14240

LOCK (WELDED)

SN: B20001-UP

1шт.

13

124-54-54130

HINGE

SN: B20001-UP

2шт.

14

124-54-54161

HOOK

SN: B20001-UP

1шт.

15

17A-54-14160

PLATE

SN: B20001-UP

2шт.

16

124-54-54170

PIN

SN: B20123-UP

2шт.

|16

14X-54-14251

PIN

SN: B20001-B20122

2шт.

Выбрано товаров: 0