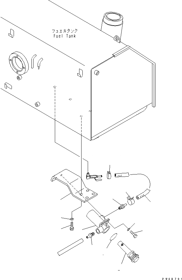
Запчасти Komatsu D41P-6 ДОПОЛН. ТОПЛИВН. ФИЛЬТР ТОПЛИВН. БАК. AND КОМПОНЕНТЫ

Схема запчастей Komatsu D41P-6 - ДОПОЛН. ТОПЛИВН. ФИЛЬТР ТОПЛИВН. БАК. AND КОМПОНЕНТЫ
1
2
3
4
4
5
6
7
8
9
10
10
11
FIT
1:1
100%

Артикул

Название

Примечание

Количество

1

07058-00001

CASE

SN: B30001-UP

1шт.

2

154-04-12531

STRAINER

SN: B30001-UP

1шт.

3

07002-14234

O-RING

SN: B30001-UP

1шт.

4

6212-61-6950

NIPPLE

SN: B30001-UP

2шт.

5

124-04-61151

BRACKET

SN: B30001-UP

1шт.

6

01010-80825

BOLT

SN: B30001-UP

2шт.

7

01643-30823

WASHER

SN: B30001-UP

2шт.

8

01010-81225

BOLT

SN: B30001-UP

4шт.

9

01643-31232

WASHER

SN: B30001-UP

4шт.

10

11Y-09-11140

CLIP

SN: B30001-UP

2шт.

11

07288-01003

HOSE

SN: B30001-UP

1шт.

Выбрано товаров: 11