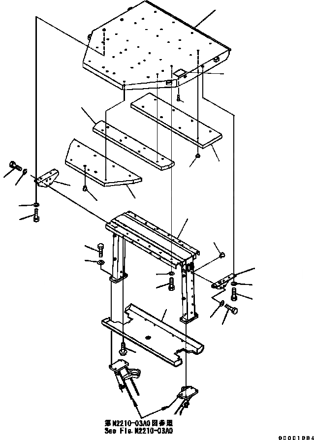
Запчасти Komatsu D41P-6 ROPS (БЕЗ КАБИНЫ) КАБИНА ОПЕРАТОРА И СИСТЕМА УПРАВЛЕНИЯ

Схема запчастей Komatsu D41P-6 - ROPS (БЕЗ КАБИНЫ) КАБИНА ОПЕРАТОРА И СИСТЕМА УПРАВЛЕНИЯ
11
12
12
10
9
18
13
16
15
14
4
2
3
1
17
9
12
10
11
12
5
7
8
6
20
19
FIT
1:1
100%

Артикул

Название

Примечание

Количество

1

124-Z78-6213

GUARD

SN: B40001-UP

1шт.

2

01010-82065

BOLT

SN: B40001-UP

8шт.

3

708-8F-11260

WASHER

SN: B40001-UP

8шт.

4

14X-Z78-3312

ROOF

SN: B40670-UP

1шт.

|$5

134-X78-7152

ROOF

SN: B40001-B40669

1шт.

5

14X-Z78-3250

LINING

SN: B40670-UP

1шт.

|$7

124-Z78-6182

LINING

SN: B40001-B40669

1шт.

6

01435-00850

BOLT

SN: B40001-UP

8шт.

7

01010-81225

BOLT

SN: B40001-UP

12шт.

8

01643-31232

WASHER

SN: B40001-UP

12шт.

9

14X-978-2170

PLATE

SN: B40001-UP

2шт.

10

01010-81235

BOLT

SN: B40001-UP

8шт.

11

01010-81230

BOLT

SN: B40001-UP

8шт.

12

01643-31232

WASHER

SN: B40001-UP

16шт.

13

134-X78-7190

LINING

SN: B40001-UP

1шт.

14

14X-Z78-3320

LINING

SN: B40670-UP

1шт.

|$17

124-Z78-6161

LINING

SN: B40001-B40669

1шт.

15

14X-Z78-3240

LINING

SN: B40670-UP

1шт.

|$19

124-Z78-6170

LINING

SN: B40001-B40669

1шт.

16

14X-978-1660

BUTTON

SN: B40001-UP

23шт.

17

07049-01012

PLUG

SN: B40001-UP

13шт.

18

07049-01215

PLUG

SN: B40001-UP

12шт.

19

09620-C2000

PLATE

SN: B40670-UP

1шт.

20

04410-13060

SCREW

SN: B40670-UP

4шт.

Выбрано товаров: 24