Запчасти Komatsu D41P-6 ТОПЛИВН. БАК. (С МОНИТОРОМ) ТОПЛИВН. БАК. AND КОМПОНЕНТЫ

Схема запчастей Komatsu D41P-6 - ТОПЛИВН. БАК. (С МОНИТОРОМ) ТОПЛИВН. БАК. AND КОМПОНЕНТЫ
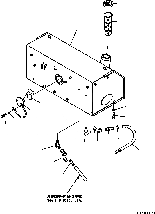
14
13
5
4
6
11
12
5
4
6
9
10
7
8
3
2
1
FIT
1:1
100%

Артикул

Название

Примечание

Количество

1

124-04-61131

TANK, FUEL

SN: B40001-UP

1шт.

2

134-04-71180

CAP

SN: B41525-UP

1шт.

|2

134-04-61180

CAP

SN: B40001-B41524

1шт.

3

11Y-04-11330

STRAINER

SN: B40022-UP

1шт.

|$4

22U-04-21231

STRAINER

SN: B40001-B40021

1шт.

4

07700-40240

VALVE

SN: B40001-UP

2шт.

5

120-04-41130

NIPPLE

SN: B40001-UP

2шт.

6

20D-68-11670

ELBOW

SN: B40001-UP

2шт.

7

7861-93-4940

SENSOR, FUEL

SN: B40001-UP

1шт.

8

07000-12085

O-RING

SN: B40001-UP

1шт.

9

01010-81020

BOLT

SN: B40001-UP

4шт.

10

01643-31032

WASHER

SN: B40001-UP

4шт.

11

01010-81680

BOLT

SN: B40001-UP

4шт.

12

01643-31645

WASHER

SN: B40001-UP

4шт.

13

07285-00115

CLIP

SN: B40001-UP

1шт.

14

07270-01035

TUBE

SN: B40001-UP

1шт.

Выбрано товаров: 16