Запчасти Komatsu D41P-6K ГУСЕНИЦЫ (СМАЗЫВ. ТИПА) (БОЛОТН.) (7MM ШИР.)(№-) ХОДОВАЯ

Схема запчастей Komatsu D41P-6K - ГУСЕНИЦЫ (СМАЗЫВ. ТИПА) (БОЛОТН.) (7MM ШИР.)(№-) ХОДОВАЯ
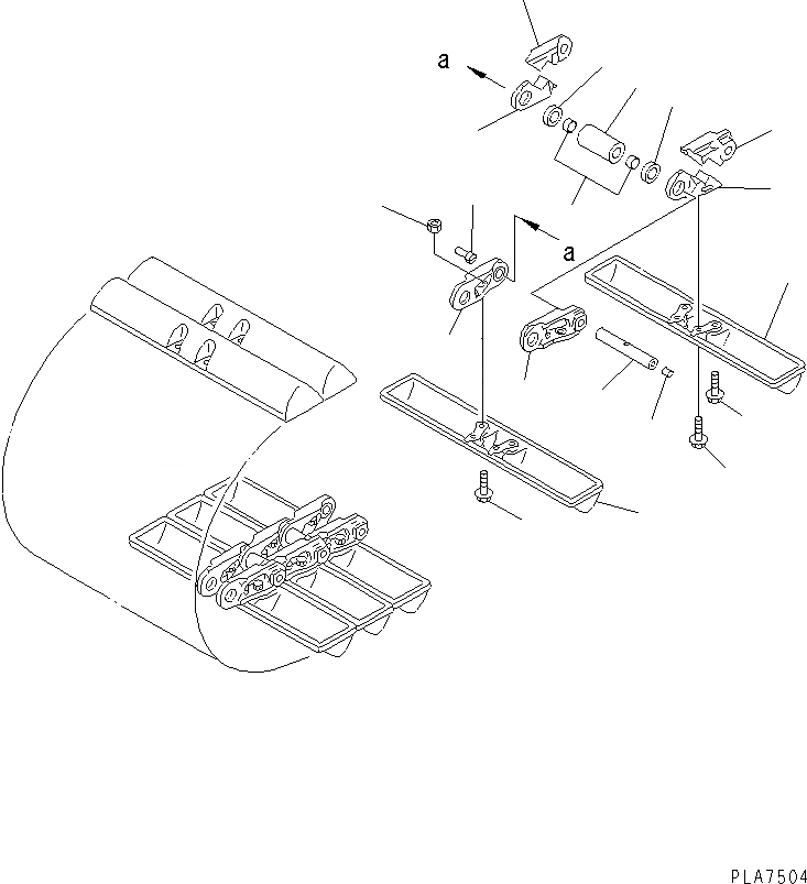
1
2
3
4
5
6
7
7
8
9
10
11
12
13
14
15
16
17
18
FIT
1:1
100%

Артикул

Название

Примечание

Количество

|$1

12G-32-03000

TRACK SHOE ASS'Y

SN: 50001-50200

1шт.

1

124-32-51120

LINK,REGULAR, L.H.

SN: 50001-50200

86шт.

2

124-32-51130

LINK,REGULAR, R.H.

SN: 50001-50200

86шт.

3

124-32-51320

LINK, MASTER,L.H., PIN SIDE

SN: 50001-50200

2шт.

4

124-32-51330

LINK, MASTER,L.H., BUSHING SIDE

SN: 50001-50200

2шт.

5

124-32-51420

LINK, MASTER,R.H., PIN SIDE

SN: 50001-50200

2шт.

6

124-32-51430

LINK, MASTER,R.H., BUSHING SIDE

SN: 50001-50200

2шт.

7

130-32-21160

SEAL ASS'Y

SN: 50001-50200

176шт.

8

124-32-51190

SPACER

SN: 50001-50200

176шт.

9

124-32-51140

BUSHING

SN: 50001-50200

88шт.

10

124-32-51150

PIN

SN: 50001-50200

88шт.

11

07059-11830

PLUG,LARGE

SN: 50001-50200

88шт.

12

07059-20721

PLUG,SMALL

SN: 50001-50200

88шт.

13

12G-32-51110

SHOE,TRACK

SN: 50001-50200

86шт.

14

13F-32-21221

BOLT, SHOE (Y0320-K2)

SN: 50001-50200

344шт.

15

203-32-51220

NUT,SHOE (Y0320-K2)

SN: 50001-50200

344шт.

16

12G-32-51110

SHOE,TRACK

SN: 50001-50200

2шт.

17

130-32-21262

BOLT,MASTER

SN: 50001-50200

4шт.

18

12G-32-51350

BOLT,MASTER

SN: 50001-50200

4шт.

Выбрано товаров: 19